开炼机工作原理

12寸小型开炼机
图片尺寸920x434
xk400开炼机(开放式炼胶机)辊筒设计(含cad零件装配图
图片尺寸621x501
什么是开炼机塑炼?
图片尺寸470x224
开炼机的工作原理
图片尺寸640x407
一种自动翻胶导胶开炼机系统技术方案
图片尺寸549x1000
切条机批发xk-400 16寸开炼机 开炼机厂家定制加工
图片尺寸1920x1280
厂家直销16寸开炼机橡胶混炼机xk-400 硅胶橡胶开放式炼胶机
图片尺寸1920x1920
椭圆形转子密炼机,圆筒形转子密炼机,三角形转子密炼机 (2)按工作原理
图片尺寸640x318
一种开炼机的制作方法
图片尺寸538x1000
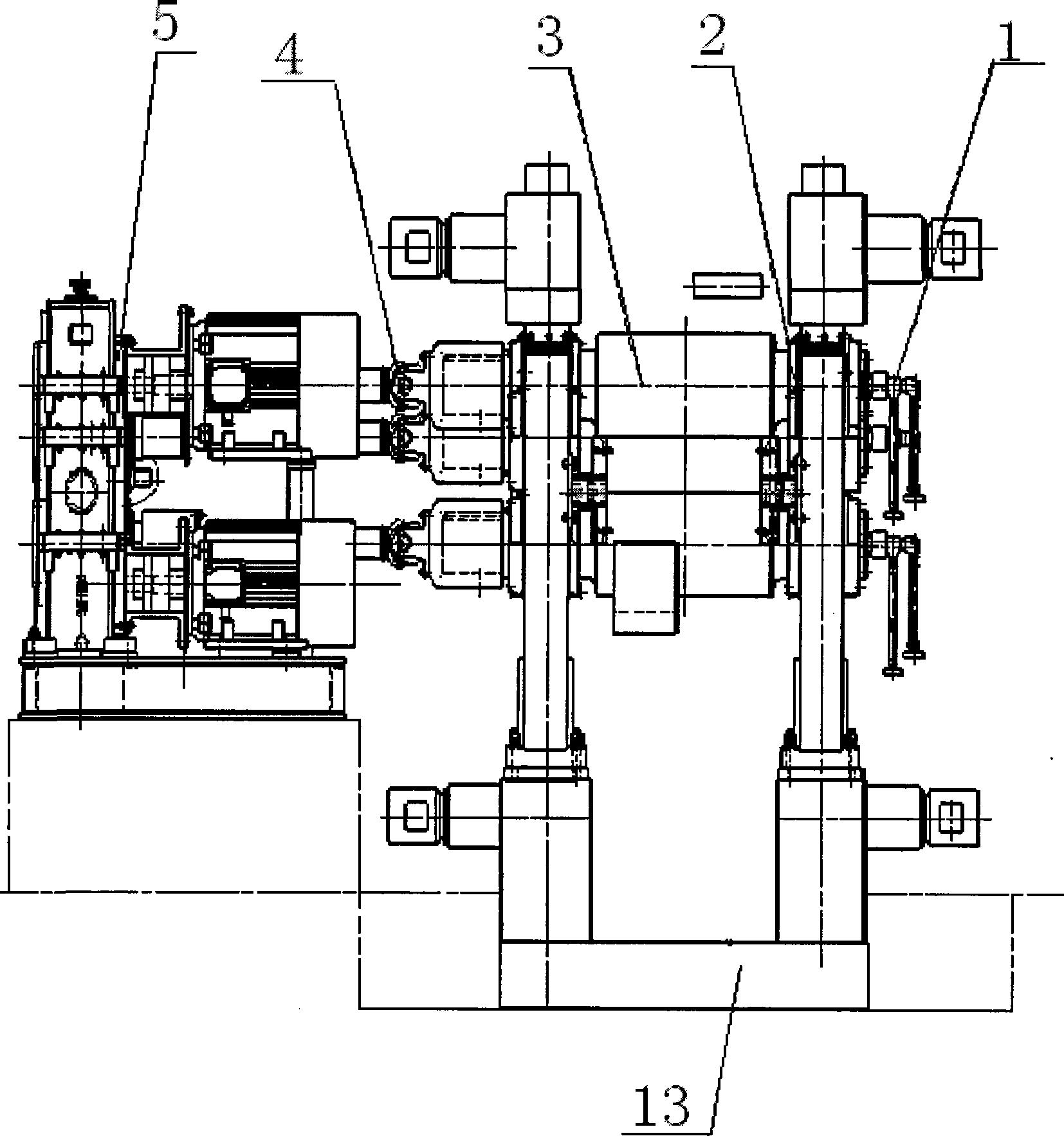
毕业设计-xk500开炼机传动系统设计
图片尺寸839x594
厂家新型轴承式开炼机 xk-450b炼胶机 优质橡胶机械炼胶机
图片尺寸1000x750
xk400开炼机(开放式炼胶机)辊筒设计(含cad零件装配图
图片尺寸675x505
开炼机的制作方法
图片尺寸1000x713
14寸开炼机/橡胶开炼机/开放式混炼机-河南郑州供应生产
图片尺寸800x533
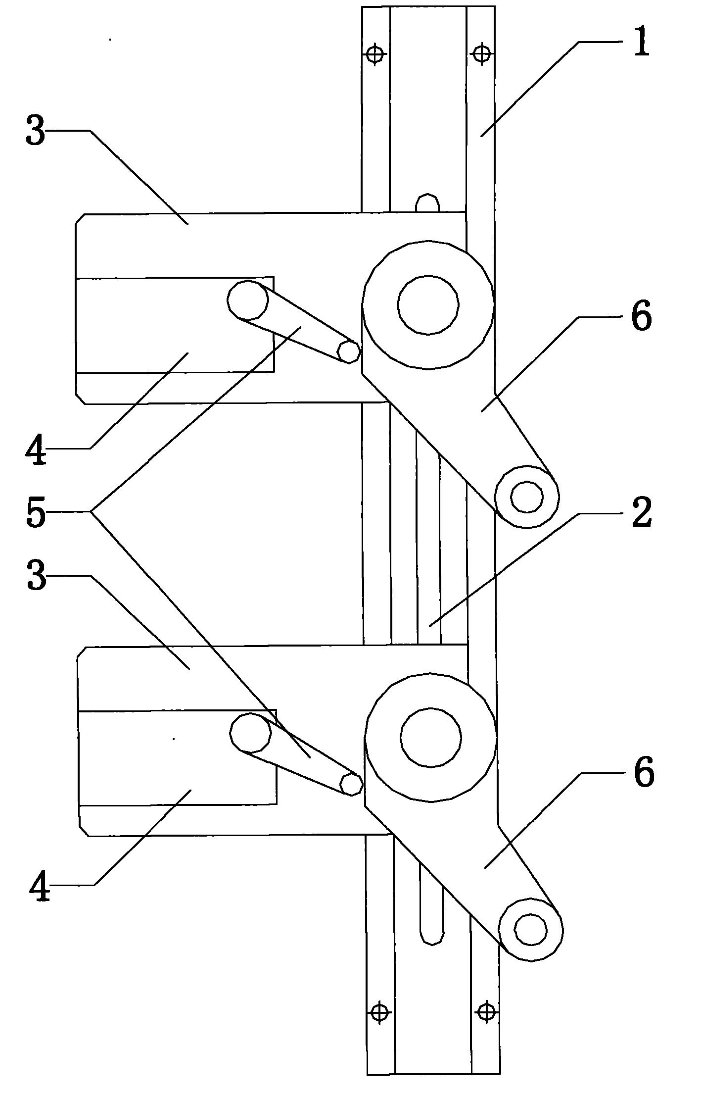
新型高效节能开放式炼胶机(开炼机)驱动系统
图片尺寸690x197
新型高效节能开放式炼胶机(开炼机)驱动系统
图片尺寸690x197
12寸轴承开炼机 橡胶双辊开放式炼胶机冷硬合金辊筒 青岛开炼机
图片尺寸800x600
可调式橡胶生产开炼机制造技术
图片尺寸1000x642
一种开炼机制造技术
图片尺寸704x1000
一种开炼机的制作方法
图片尺寸957x1000