开瓶器简笔画

开瓶器细线图标啤酒开瓶器
图片尺寸1100x1100
符号,矢量,绘画插图,开瓶器,图标
图片尺寸1100x1100
啤酒开瓶器细线图标饮料和厨房用具
图片尺寸1100x1100
开瓶器图标孤立轮廓符号
图片尺寸1100x1100
食欲打开插画-食欲打开卡通-开放房屋抽象概念矢量说明开插图-摄图网
图片尺寸300x300
红酒开瓶器免抠元素图片-元素素材2874531-万素网
图片尺寸350x350
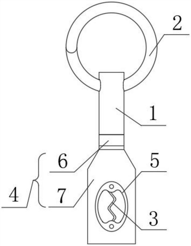
在把手下部形成有起子的垂直型开瓶器的制作方法
图片尺寸440x716
开瓶器图标.在白色背景隔绝的网设计的轮廓瓶开瓶器传染媒介象.瓶开瓶
图片尺寸1024x1024
开瓶器图标-有svg,png,eps格式-寻图标
图片尺寸256x256
一种多功能开瓶器-爱企查
图片尺寸620x800
x开瓶器-爱企查
图片尺寸672x1381
开瓶器隔离草图,机械开瓶器,餐厅和厨房设备矢量.酿酒行业,葡萄酒瓶塞
图片尺寸1024x1024
开瓶器厨房餐具图标
图片尺寸579x1200
安瓶开瓶器-爱企查
图片尺寸422x1022
开瓶器图标向量.孤立轮廓符号插图
图片尺寸1100x1100
开瓶器(蝙蝠侠1)-爱企查
图片尺寸428x800
安瓿瓶开瓶器-爱企查
图片尺寸858x1547
生活小工具之红酒开瓶器的画法教程-百度经验
图片尺寸500x707
便于脱塞的红酒开瓶器-爱企查
图片尺寸435x377
一种矿泉水专用开瓶器-爱企查
图片尺寸1235x1444