开花机械结构

cn201746636u_一种高速动平衡电子提花机失效
图片尺寸800x623
根据搭建的模型,并结合传统纺织机械的一般性结构,首先可以清晰的分解
图片尺寸1080x520
一种具有曲线提花路径的提花机的制作方法
图片尺寸1000x888
创意的机械花结构,开花时真的很漂亮
图片尺寸640x360
本发明公开了提花机提刀传动机构,属于提花开口机械技术领域.
图片尺寸2268x1520
一种可以拉动开合的花
图片尺寸443x283
首页 杨弹匠梳棉机械制造厂 纺织加工 眉山6mtb80-97b吸尘弹花机
图片尺寸1015x520
cn102011236a_提花机开口装置有效
图片尺寸2442x1792
图
图片尺寸400x385
一种压花机
图片尺寸1386x1331
秀场自动开合装置
图片尺寸360x321
服装鞋帽珠宝饰品制造的工具及其制品制作技术
图片尺寸409x562
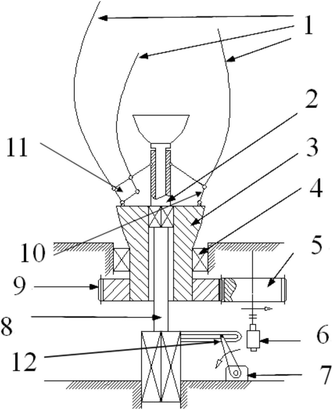
大针数提花开口的传动机构
图片尺寸1807x1880
一种具有倾斜开口机构的提花机的制作方法
图片尺寸1000x918
一种压花机制造技术
图片尺寸1000x543
一种花瓣景观的开合旋转控制装置
图片尺寸1331x1636
花瓣开合机构
图片尺寸601x479
【花瓣开合装置专利查询】专利号|摘要-企查查
图片尺寸402x329
cn102505358a_一种立体提花针刺机有效
图片尺寸2410x1686
服装鞋帽珠宝饰品制造的工具及其制品制作技术
图片尺寸1000x814