弓天云

中交路建董事长弓天云对吴建峰,夏江南两位同志的任职表示祝贺,并对
图片尺寸1045x853
近日,中交一公局局长弓天云在海外公司总经理刘东元的陪同下,先后来到
图片尺寸1500x1029
弓天云 (其他人物相关)
图片尺寸520x390
【弓氏名人楷模】弓氏企业家风采交通专家弓天云
图片尺寸371x500
中交路桥建设有限公司董事长党委书记弓天云图简历
图片尺寸300x223
弓天云弓天云事件
图片尺寸292x223
全力打造具有强劲竞争力的特级企业公司一届二次职代
图片尺寸866x609
最后,弓天云局长宣布:"中交一公局科研综合楼主体封顶!
图片尺寸571x381
公司召开一届一次职代会,工代会
图片尺寸1019x590
中交一公局局长是谁 —— 现任局长是 弓天云 到2014年4月到期如何把
图片尺寸750x500
公司党委召开2018年度领导班子民主生活会
图片尺寸640x426
弓天云图册_百度百科
图片尺寸260x184
中交路建董事长,党委书记弓天云,中交路建副总经理欧阳瑰琳,中交路建
图片尺寸1080x670
中交路建董事长,党委书记弓天云,中交路建副总经理欧阳瑰琳,中交路建
图片尺寸1080x559
弓天云的介绍
图片尺寸500x333
中交路建弓天云消息_百度视频搜索
图片尺寸352x234
中交路建董事长,党委书记弓天云,中交路建副总经理欧阳瑰琳,中交路建
图片尺寸1011x609
斗门数控钢筋笼滚焊机界面设置
图片尺寸450x600
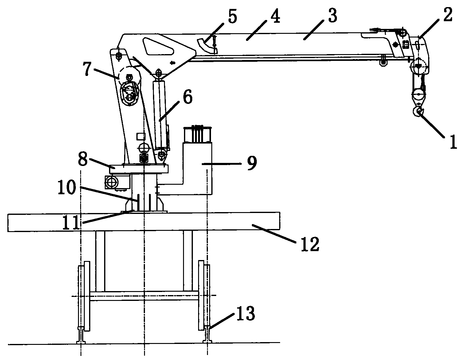
cn102060241a_一种用于高速铁路声屏障施工过程中的万向起重机失效
图片尺寸1514x1168
中交路建弓天云消息_百度视频搜索
图片尺寸352x234