引流袋 图解

亚达(yada) 引流袋 1000ml 女性 袋装 (1只)
图片尺寸750x771
华越集尿袋 一次性引流袋接尿袋 男女中老年加厚尿袋1500ml
图片尺寸790x693
事达导尿包一次性使用无菌医用导尿引流袋男用尿管家用老人集尿袋事达
图片尺寸790x1015
诸健引流袋集尿袋一次性医使用引流袋接尿器通用1000ml集尿袋卧床手术
图片尺寸750x1142
康乐保1020 引流袋尿袋 卧床老人接尿器 男 瘫痪病人用品 导尿管.
图片尺寸790x651
留言咨询产品说明:【主要性能,主要结构组成】 i型(普通引流袋)由排液
图片尺寸600x450
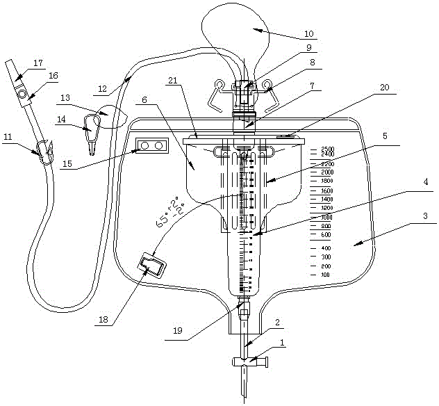
一种便携式一次性引流袋
图片尺寸1823x2813
一次性使用防逆流引流袋加长管加粗集尿袋医用接尿器男女老人用1500ml
图片尺寸790x932
一次性导尿引流袋加厚加长管防回流1.2米集尿接尿袋1000ml豪华装
图片尺寸749x463
引流袋螺旋接口胆汁体外一次性使用防返流防逆流医用老人导集尿袋
图片尺寸800x800
一次性使用引流袋 防逆流精密胆汁集尿袋导尿管家用加厚男女老人
图片尺寸800x800
一种一次性使用引流袋的制作方法
图片尺寸878x1000
一种自排引流袋的制作方法
图片尺寸812x1000
事达一次性使用引流袋防逆流无菌家用老人接尿器小便防返流集导尿包导
图片尺寸790x815
一次性引流袋导尿包医用集尿老人硅胶管防逆流接尿器男用女抗返流
图片尺寸750x1600
一种防止液体倒流的精密引流袋
图片尺寸632x584
一次性引流袋导尿包医用集尿老人硅胶管防逆流接尿器男用女抗返流
图片尺寸750x1600
一种一次成型防逆流引流袋的制作方法
图片尺寸845x1000
一种带鲁尔接头的引流袋制造技术
图片尺寸509x541
cn205434479u_一种含有多功能的引流管接头的引流袋失效
图片尺寸1000x929