张力控制装置

磁粉手动张力控制器,ktc手动张力控制器
图片尺寸682x456
张力控制器的简介
图片尺寸2000x1333
自动张力控制器
图片尺寸550x372
x放线盘张力控制装置-爱企查
图片尺寸1656x1111
阻尼张力器又名永磁式张力控制器,是以磁场为媒介传递恒定扭力的装置
图片尺寸700x513
锥度张力控制器
图片尺寸1333x1000
厂家直供eta-500l-rd电子张力器绕线机张力器 可设定张力细线适用
图片尺寸1920x1762
张力控制装置-淘宝拼多多热销张力控制装置货源拿货 - 阿里巴巴货源
图片尺寸300x300
广东静电消除器生产厂家-提供张力放大器,静电消除装置产品定制与研发
图片尺寸640x640
cn201362526y_线缆张力控制装置有效
图片尺寸1404x851
纱线张力控制系统
图片尺寸1825x3524
供应张力控制系统
图片尺寸400x300
自动张力控制器
图片尺寸601x305
超高精度双回路张力控制器
图片尺寸640x503
张力装置或制动器,是以磁场为媒介传递恒定扭矩的装置.
图片尺寸640x475
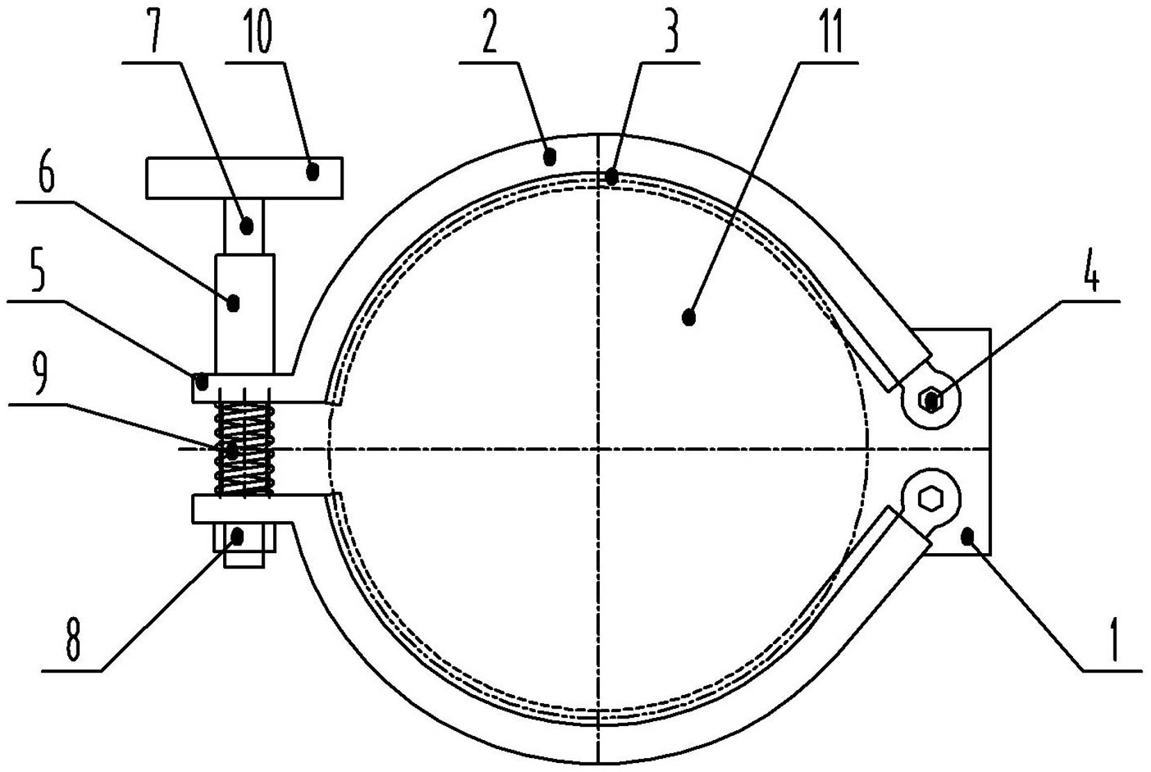
一种婚纱布料加工设备用张力控制装置的制作方法
图片尺寸1736x1526
电机同步控制器,张力放大器,自动纠偏装置,同步张力控制器,比例连动
图片尺寸1240x1240
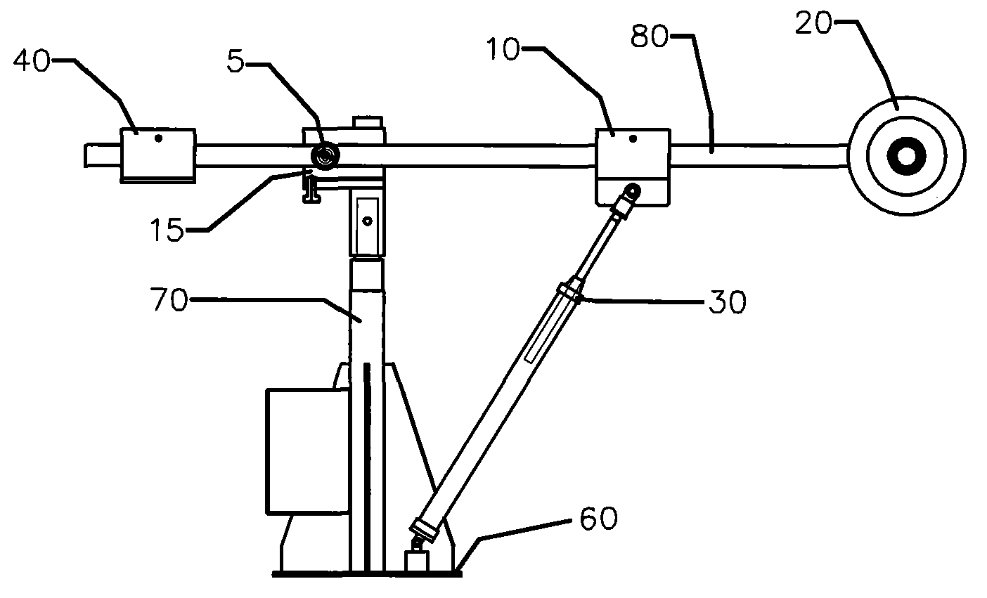
一种用于纺织品加工用张力控制装置的制作方法
图片尺寸426x443
张力控制系统的特性与应用
图片尺寸506x388
全数字高精度型自动恒张力控制器
图片尺寸1920x1440