张口度的测量

治疗后:张口度35mm治疗前:张口度20mm疼痛明显减轻李女士张,闭口自如
图片尺寸552x424
6,颈部活动度颈部活动度可用颈部屈伸度和颈部关节伸展度来衡量.
图片尺寸786x423
自然开口度平均约3.7cm,最大开口度可达4.8cm.
图片尺寸680x464
采用浮针,针刺运动疗法以及经络导引操治疗1次后,她的张口度从两指
图片尺寸2434x1681
上一篇关于张口度的短文推送得到了来自全国各地同学们大量浏览回复
图片尺寸960x720
1 一般情况下,我们的张口度为自己的三横指,约3.7cm左右.
图片尺寸580x396
天然翡翠手镯# 用直尺测量:把手掌自然摊开,食指与大拇指呈90度直角
图片尺寸1278x1280
br>许多朋友不清楚如何测量张口度,今天我们就来说个简单的方法:用
图片尺寸1280x864
【毓医来了】保持呼吸通畅,麻醉医生一生的六字真言
图片尺寸866x538
颞颌关节一次治疗张口度立马恢复正常
图片尺寸1080x809
二,张口度
图片尺寸1046x450
手镯圈口测量!
图片尺寸1080x1920
除了用并指评估(3指4指)准确的评估方法为游标卡尺测量mm数正常张口度
图片尺寸960x720
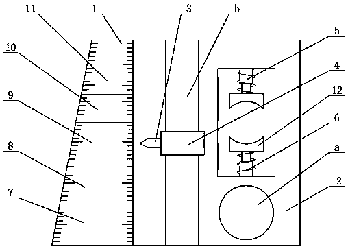
所述尺子的前端从下至上依次分为重度张口受限区域,中度张口
图片尺寸508x366
br>73临床检查 br>张口度/张口型/咀嚼肌肌群触诊/咬合关系 br>
图片尺寸1920x2560
规定_通知_附件
图片尺寸1654x2339
2024年口腔医师医师实践技能考试注意事项
图片尺寸1088x1337
直呼好家伙超简单的手镯圈口测量法
图片尺寸750x1000
测量对轮左右张口度.
图片尺寸2000x2667
菲林弯曲的时候 针对开口度底的患者插入菲林的方法 使用止血钳插入
图片尺寸851x576