张家口人口

速看张家口市第七次全国人口普查公报来了
图片尺寸800x890
张家口市第七次全国人口普查公报来了
图片尺寸650x716
速看张家口市第七次全国人口普查公报来了
图片尺寸800x883
张家口市桥西区第七次全国人口普查公报
图片尺寸413x324
最新公布张家界市常住人口1517027人
图片尺寸600x706
张家口市桥西区第七次全国人口普查公报
图片尺寸559x395
最新公布张家界市常住人口1517027人
图片尺寸600x702
张家口市桥西区第七次全国人口普查公报
图片尺寸509x356
张家界市第七次全国人口普查公报(1-5号)
图片尺寸547x272
张家口市桥西区第七次全国人口普查公报
图片尺寸533x382
20152019年张家口市常住人口数量户籍人口数量及人口结构分析
图片尺寸551x346
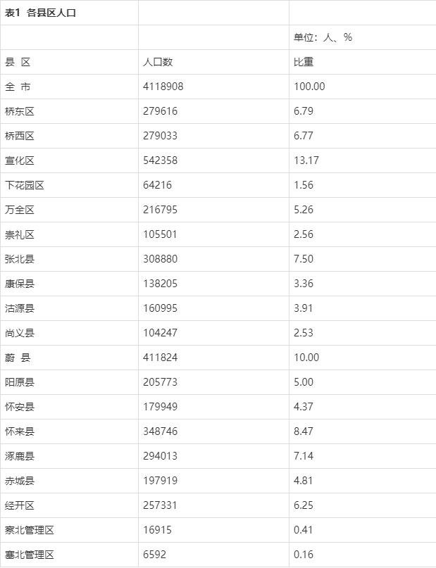
张家口各区县人口一览蔚县4118万崇礼区1055万
图片尺寸320x668
张家口人口数量为443.3万人.
图片尺寸535x401
张家口第七次人口普查 这些点细思极恐对房产影响有多大?
图片尺寸619x807
张家口常住人口411万!男性竟比女性多.
图片尺寸800x505
廊坊|卫星城|张家口_网易订阅
图片尺寸660x1429
河北张家口下辖区县数据——桥东区人均可支配第一,桥西区第二
图片尺寸1254x806
张家口常住人口411万!男性竟比女性多.
图片尺寸800x541
是谁推高了张家口的房价?_人口
图片尺寸680x925
ii 型大城市数量7个,秦皇岛张家口无缘Ⅰ型_承德_人口_规模
图片尺寸900x827