张拉原理图

预应力混凝土连续梁预应力张拉及压浆施工方案
图片尺寸760x570
漂浮张拉体系
图片尺寸1080x810
电动螺杆张拉机
图片尺寸560x419
智能张拉系统构成和原理有哪些?
图片尺寸600x600
预应力张拉标准施工方法现场图文教学,不懂的赶紧补补
图片尺寸909x487
2.2张拉机具和设备ppt
图片尺寸1080x810
先张法预应力筋如何张拉
图片尺寸500x465
智能张拉设备
图片尺寸331x228
预应力张拉标准施工方法现场图文教学,不懂的赶紧补补
图片尺寸1080x560
各种简易张拉机具的工作原理
图片尺寸558x222
宁夏中卫高效的张拉预应力 新款预应力智能张拉机
图片尺寸717x652
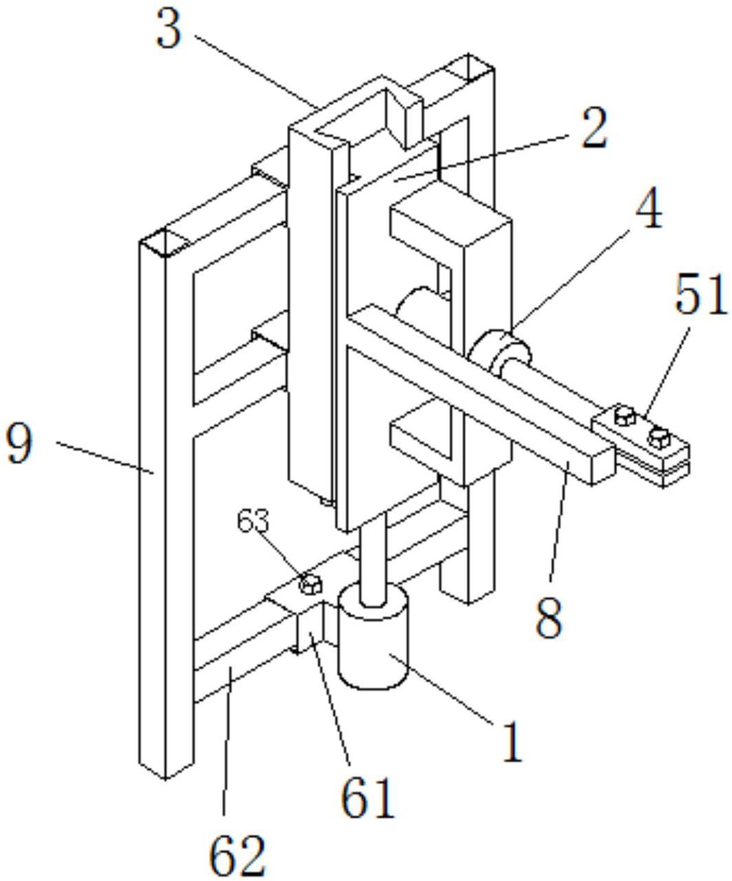
一种预应力混凝土构件用张拉装置的制作方法
图片尺寸443x261
一种车架顶蒙皮张拉组件-爱企查
图片尺寸1059x1274
拉拔原理 在外加拉力的作用下, 迫使金属通过模孔产生塑 性变形,以
图片尺寸1080x810
一种基于等压原理的同步张拉系统-爱企查
图片尺寸566x287
南水北调渡槽预应力张拉施工方案
图片尺寸1440x1020
张拉工艺图
图片尺寸560x344
一种预应力钢绞线智能张拉装置的制作方法
图片尺寸1000x841
具有对中找正功能的钢索张拉装配系统-爱企查
图片尺寸1545x2337![[资料]柱预应力 钢筋张拉 示意图](https://i.ecywang.com/upload/1/img0.baidu.com/it/u=1675319199,1909228023&fm=253&fmt=auto&app=138&f=JPEG?w=326&h=500)
[资料]柱预应力 钢筋张拉 示意图
图片尺寸357x548