张氏集团张茂银

福鼎市张氏文化研究会第六次会员代表大会
图片尺寸3968x2976
前凉:历史上唯一的张姓王朝 | 扬州张氏家谱网
图片尺寸400x396
仙游张姓:书香致远汇清河
图片尺寸420x445
三国人物盘点73位张姓将领你知道几个
图片尺寸640x360
隐形冠军张氏机械小零件大乾坤
图片尺寸373x280
信宜张氏大宗祠举行庆祝活动
图片尺寸4000x2000
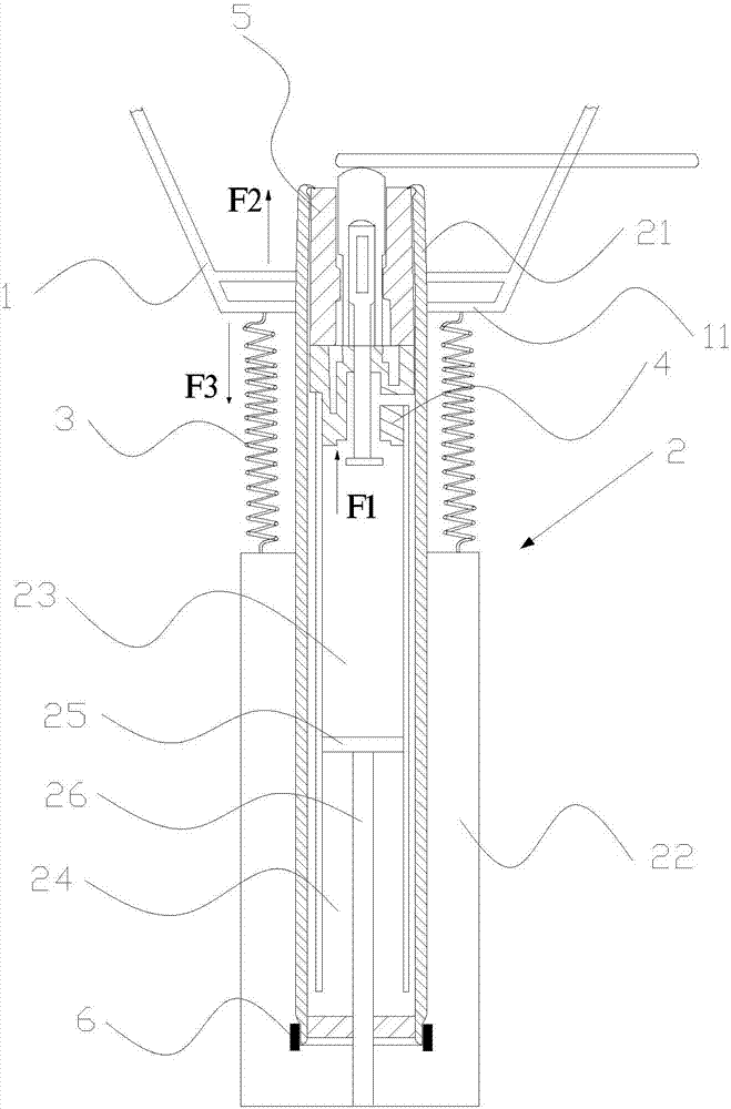
cn206747483u_数控精密滚丝机和汽车用多头丝杠有效
图片尺寸1000x771
公元324年,汉赵封张茂为凉王.
图片尺寸500x707
张茂源,张爱玲的姑姑,也是庞大张氏家族中的一员.
图片尺寸640x423
严氏没有生育,346年张骏死后,被继位的桓王张
图片尺寸640x751
他有记录的三个儿子:长子张寔(凉昭王),次子张茂(凉成王),三子张素
图片尺寸640x801
十几年之后,张轨作古,他的儿子张茂改元为永元,虽无皇帝之名却有皇帝
图片尺寸640x633
张爱玲在美国离世后,其独身弟弟打开14平米房门:怕死后没人发现_张子
图片尺寸370x528
张轨,(255~314年),字士彦,安定郡乌氏县(今甘肃省平凉市)人,西汉站鞍
图片尺寸640x830
十六国时期,河州地区的位置对前凉的作用和影响_东晋
图片尺寸640x355
河西在张氏手中成为了汉人的世外桃源
图片尺寸384x240
公开公告号 cn208510408u 公开公告日期 2019-02-19 发明人 张茂银;张
图片尺寸659x1000
张寔的弟弟张茂继承了张寔的地位和权势,他对自己的长嫂极为尊重,在
图片尺寸640x455
张爱玲在美国离世后,其独身弟弟打开14平米房门:怕死后没人发现_张子
图片尺寸320x298
张茂不肯听从,只接受使持节,平西将军和凉州牧的职位.
图片尺寸640x464