弥雾机结构

百瑞雾化器雾化机儿童家用医用压缩式雾化泵雾化仪inhalerpro医用同款
图片尺寸750x858
老板让利 雾炮机喷嘴 分散喷雾 环保雾化喷雾机专用喷头
图片尺寸1000x706
湿喷机内部结构
图片尺寸650x541
一种雾炮机及其自动控制方法与流程
图片尺寸1000x891
雾炮机的结构
图片尺寸640x775
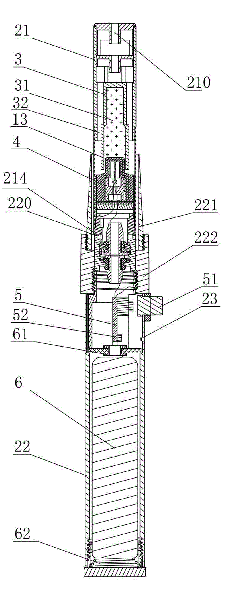
雾化器雾化装置以及控制雾化器的控制方法与流程
图片尺寸1000x920
促销汽油脉冲式弥雾机 喷雾机 操作简单有视频多用途果园弥雾机
图片尺寸750x1084
农用新型弥雾机脉冲汽油机消杀打药电动高压喷雾器防疫消毒养殖场
图片尺寸800x800
深圳盐雾试验机性能参数
图片尺寸727x574
背负式风送喷雾器
图片尺寸1732x1977
钱眼首页 产品库 机械及工业制品 喷射/喷雾设备 > 雾化器 免费注册
图片尺寸750x422
雾化器及雾化装置
图片尺寸1000x960
本实验还用到喷雾器(结构见图5),钟油.
图片尺寸296x290
脉冲弥雾机专用配件化油器气泡烟雾机水雾机喷雾器专用化油器油泡1个
图片尺寸1078x916
雾化器及雾化装置的制作方法
图片尺寸1000x958
火焰法雾化器结构示意图解
图片尺寸799x431
电子香烟雾化器及电子香烟
图片尺寸800x2070
雾化器的制作方法
图片尺寸871x1000
油雾器的结构原理及使用注意事项(特选参考)
图片尺寸893x567
油雾吸尘机的制作方法
图片尺寸922x1000