弥雾机结构图

新款脉冲式弥雾机烟雾弥雾两用机大棚喷雾机高品质产品厂家直销
图片尺寸1092x662
新型背负式果园弥雾机
图片尺寸941x490
公开一种遥控型弥雾机化油控制装置,包括化油器主体和控制单元结构,所
图片尺寸800x672
金牌卖家电动/手动喷雾机
图片尺寸750x1084
农用高压汽油弥雾机养殖场消毒防疫喷雾器烟雾迷雾电动大棚打药机
图片尺寸750x864
一种多功能弥雾机制造技术
图片尺寸1000x658
rfmmu龙柏树打药弥雾机椰子树打药弥雾机
图片尺寸706x551
经验与技巧双福烟雾机
图片尺寸600x523
k黄金版水雾两用脉冲式热力大烟雾机弥雾机 - 爱企查
图片尺寸750x876
喷雾机
图片尺寸661x956
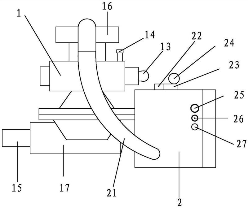
一种雾炮机的制作方法
图片尺寸923x1000
一种降尘雾炮机
图片尺寸1885x1690
diy 雾化器 简单分析
图片尺寸530x723
本文系统解析弥雾机与喷雾器的选型逻辑,从结构,性能,场景适配到维护
图片尺寸1080x1304
手提式轻便弥雾机轻便弥雾机结构合理轻便弥雾机
图片尺寸750x750
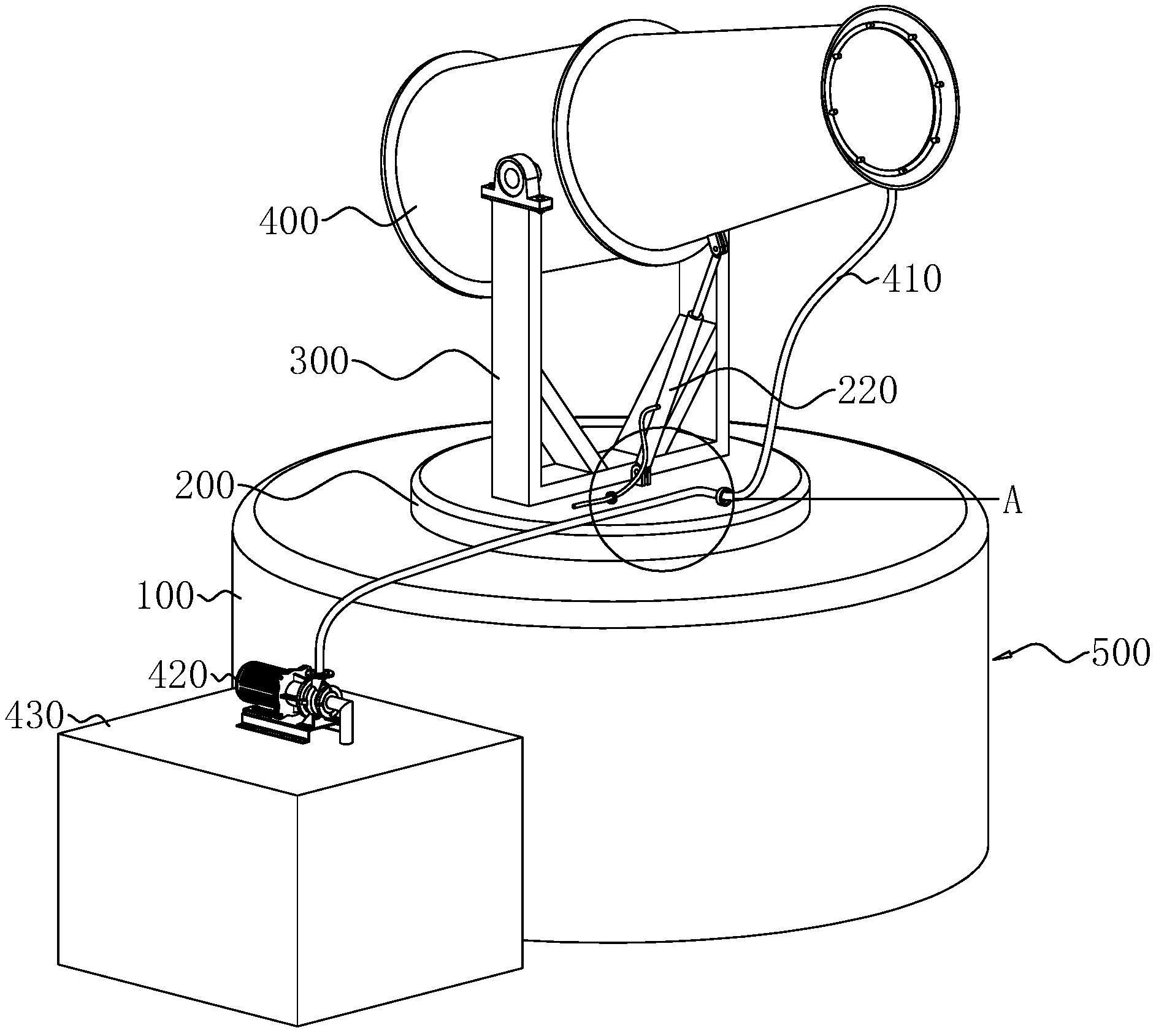
遥控弥雾机摄像头角度自动调节结构的制作方法
图片尺寸1000x990
雾化器的工作原理你了解吗?
图片尺寸890x701
农用电动喷雾器送风筒弥雾机送风机打药风送式喷雾机消毒喷雾壶
图片尺寸750x1171
便手提式轻便雾理机轻便弥雾机弥825结构合轻弥雾机
图片尺寸750x750
农用打药汽油弥雾机蚊虫消杀消毒喷雾器养殖场高压电动雾化烟雾机
图片尺寸750x1161