弯折

弯折铁丝
图片尺寸1080x810
科学 弯折铁丝
图片尺寸640x362
钢筋弯折加工示意图
图片尺寸760x429
flash动画素材:筷子弯折
图片尺寸637x460
钢筋弯折长度
图片尺寸521x294
钢筋的弯折和弯钩有什么区别?弯折长度怎么计算
图片尺寸353x412
搞不懂筷子为何在水里我们看到的是弯折的谁能说说为什么(最好是画个
图片尺寸426x568
请画图解释插入水中的筷子弯折的原因.
图片尺寸325x208
铁线工艺品设备 自行车零成型机 钢丝弯折机
图片尺寸375x375
第二步:将电线弯折出一个人的形状.(也跟大字很像)
图片尺寸500x752
钢筋的弯钩和弯折
图片尺寸784x574
弯钢筋工地螺纹钢工业箍筋扳手弯折搬钢筋折弯器弯弧手工加厚手动小号
图片尺寸750x382
把一根均匀的电阻丝弯折成一个闭合的等边三角形abc,如图所示,图中d点
图片尺寸600x375
弯折纸护角 手工折纸大全-蒲城教育文学网
图片尺寸500x500
无梁板屋面折板背脊部水平钢筋弯折长度多少
图片尺寸403x224
铁丝弯折新技艺----自行车模型设计制作ppt
图片尺寸1080x810
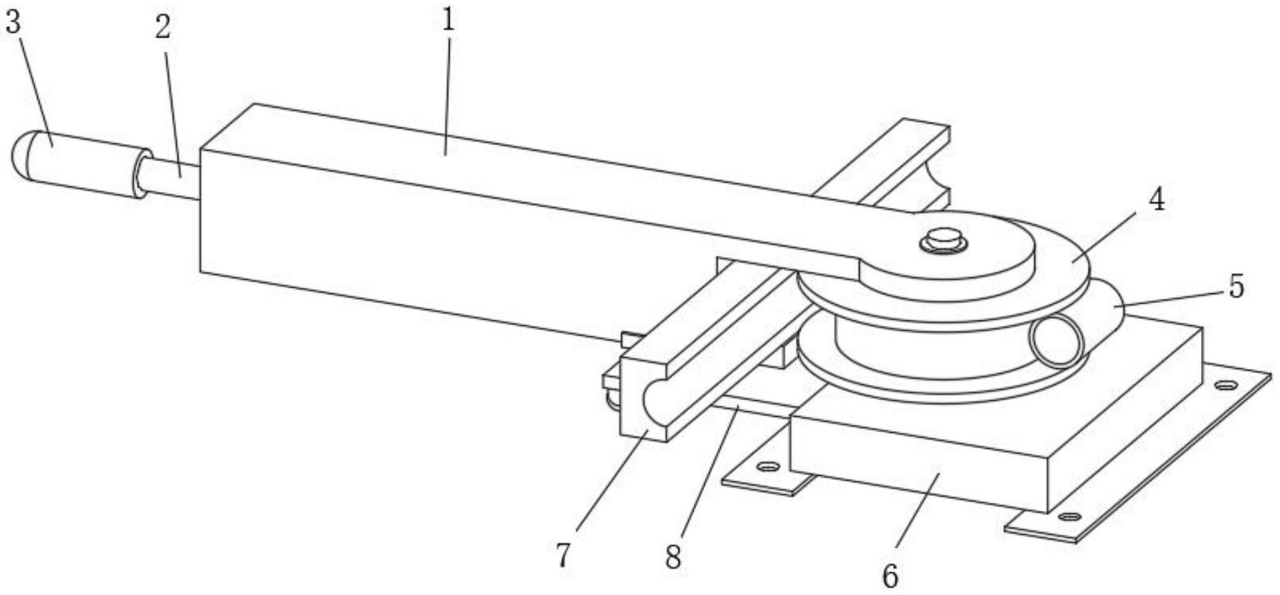
一种铝管弯折装置-爱企查
图片尺寸1845x858
钢筋弯折时的弯弧内直径的技术要求有哪些?
图片尺寸346x317
真鱼缸·乔思伯tk-2星舰仓纯白海景房.双面弯折玻璃工艺尽显 - 抖音
图片尺寸1438x1632
如图钢筋向下弯折一定长度按shfit左键找不到点没法下弯折
图片尺寸1402x837