弯管芯棒图纸

新型弯管芯棒的制作方法
图片尺寸1000x938
一种可变直径的弯管防皱芯棒
图片尺寸1024x1787
弯管机芯棒
图片尺寸723x1748
新型弯管芯棒pdf
图片尺寸920x1302
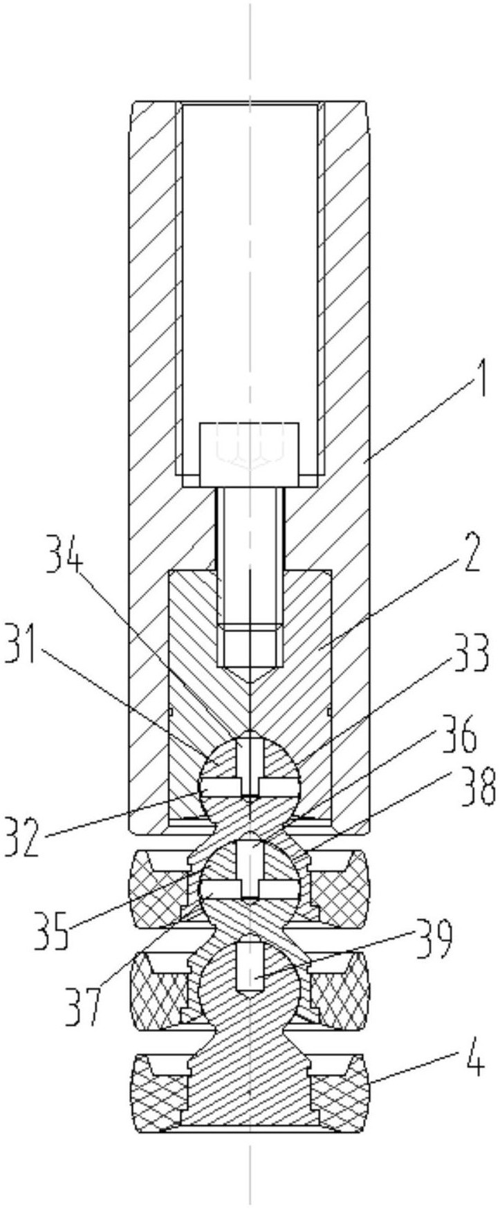
一种弯管成形用可拆卸式弹性球窝芯棒的制作方法
图片尺寸1000x728
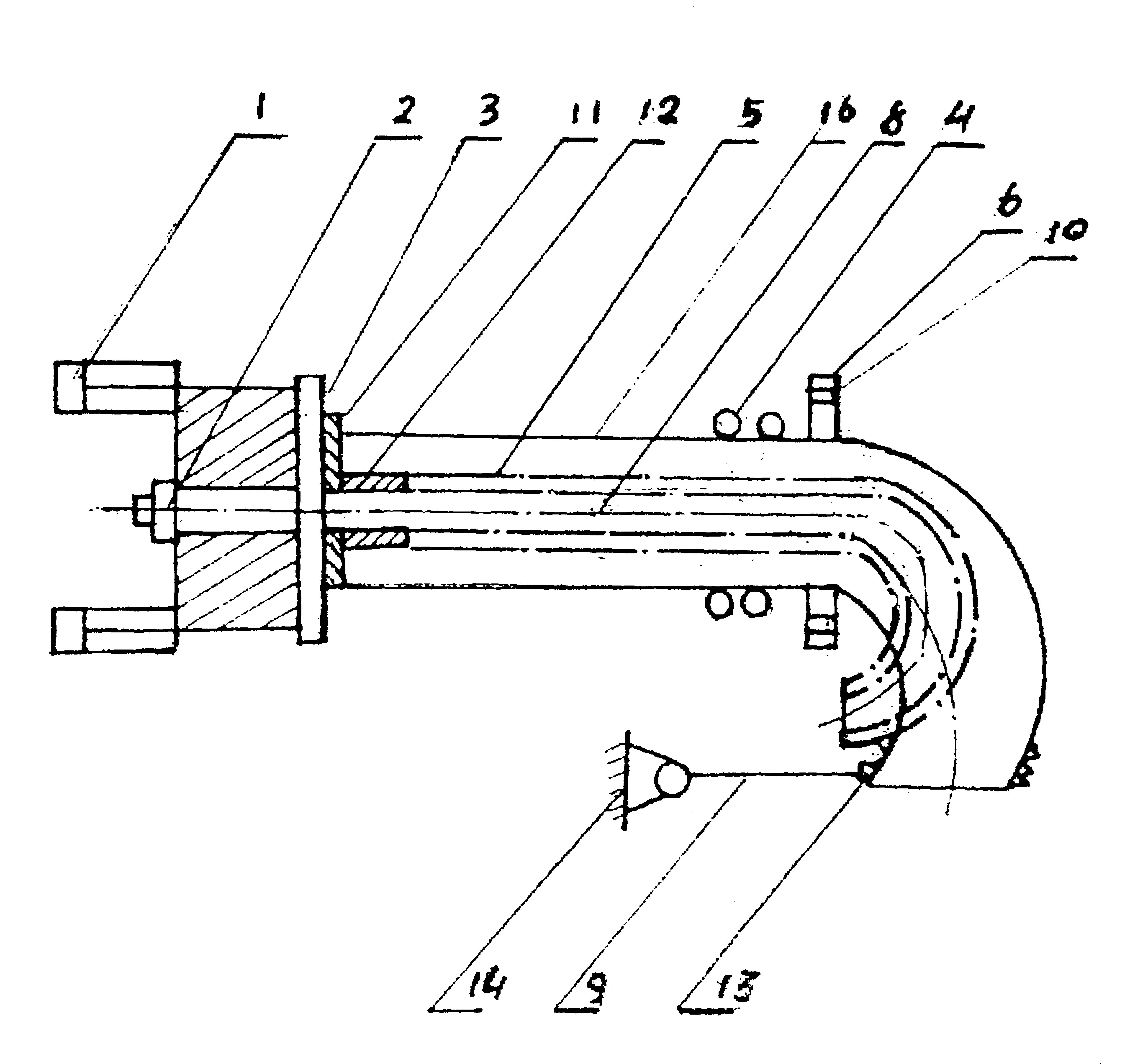
摘要附图摘要本实用新型公开了一种两端用弯管机芯棒,包括芯棒本体
图片尺寸1357x1010
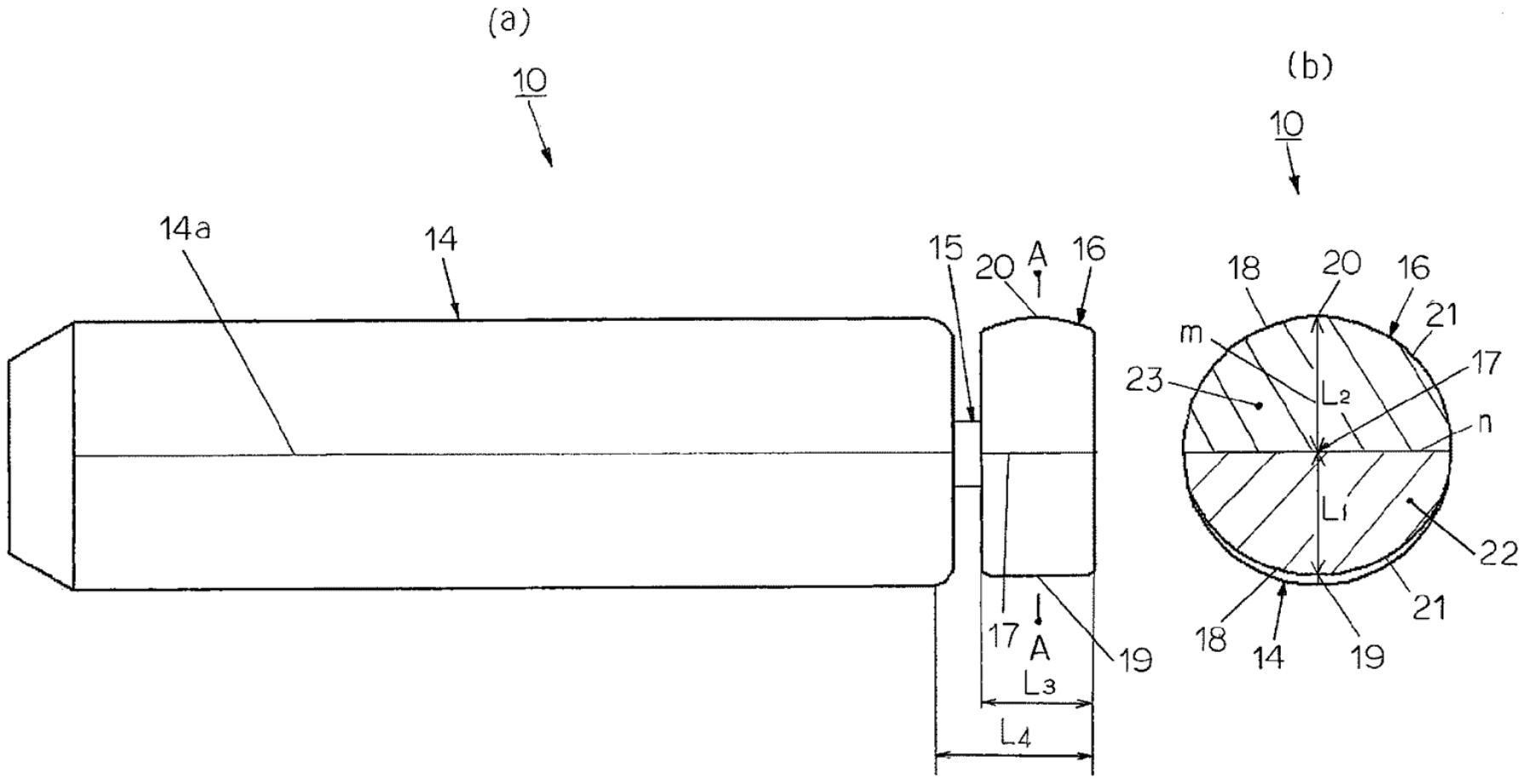
芯棒弯管及其制造方法和制造装置
图片尺寸1792x921
一种易于拆卸的弯管防皱芯棒
图片尺寸1399x1357
一种可变直径的弯管防皱芯棒的制作方法
图片尺寸573x1000
弯管设备领域,尤其涉及一种用于精密导管带内径检查防错功能的芯棒及
图片尺寸1694x995
请问这个弯管怎么画
图片尺寸580x791
弯管机防皱板固定装置
图片尺寸1734x1301
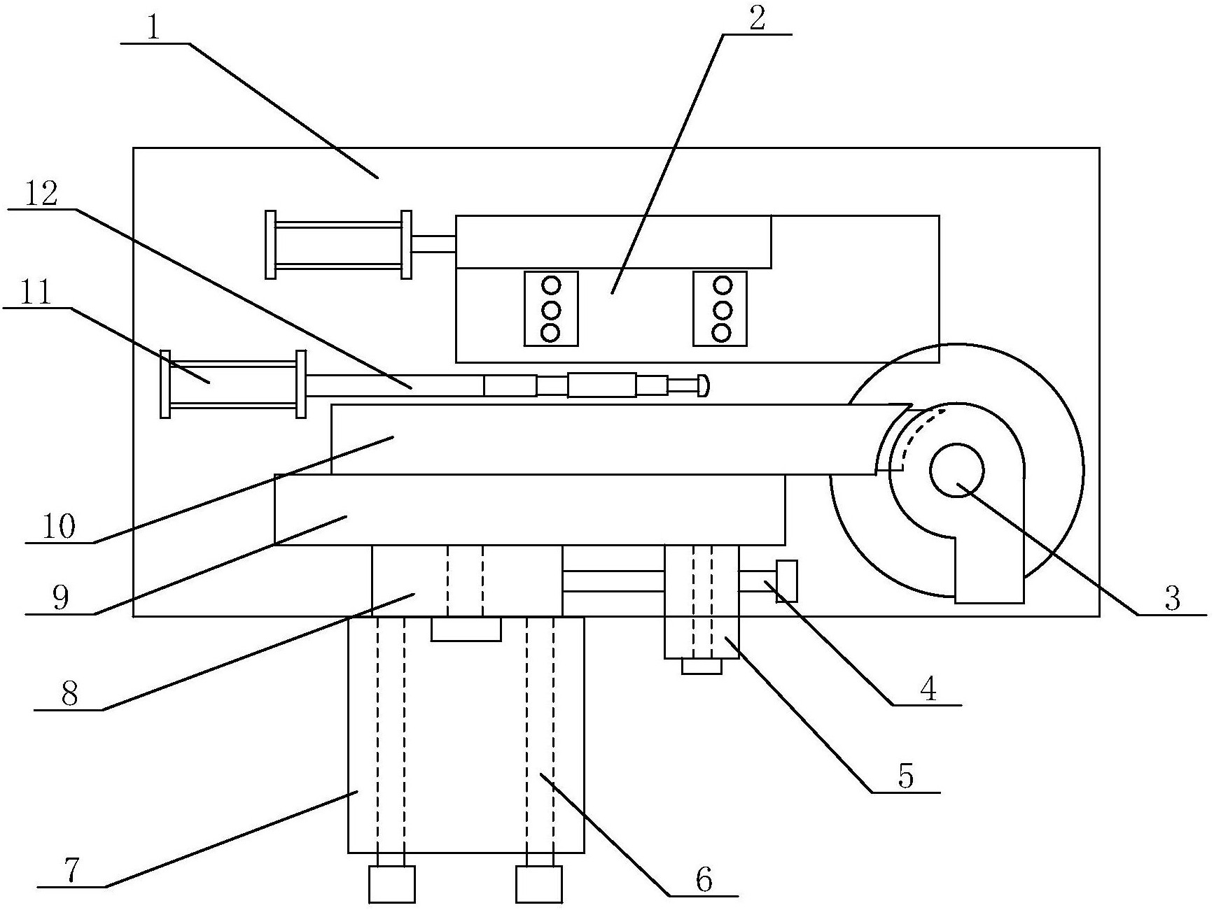
双功能金属弯头弯管机
图片尺寸4960x4672
图片尺寸1240x1754
成形芯棒(单位:mm)
图片尺寸1575x1950
弯管机芯棒的种类与使用技巧详解
图片尺寸938x500
管材热门商品专区
图片尺寸475x334
高压厚壁无缝推制弯管有效
图片尺寸1000x961
锥形管图纸
图片尺寸950x474
弯管机芯棒#
图片尺寸2160x2880