弹力装置

利用了皮筋的弹力2.发射装置利用了杆杠原理.
图片尺寸900x1600
新作丨弹力器械移动既视的装置打造独特视觉空间
图片尺寸640x960
利用了皮筋的弹力2.发射装置利用了杆杠原理.
图片尺寸1600x900
080no.000483 皮带张力装置(使用弹簧)
图片尺寸800x800
一种乒乓球弹力测试装置-爱企查
图片尺寸894x1381
一定的臂力萎缩症状,内部的液压和弹力装置有效控制训练的强度缓冲,可
图片尺寸820x679
南宁2000n弹簧测力计汉中2000n弹簧弹力计湖州2000n弹簧拉力计
图片尺寸500x500
2kr圆簧拉伸弹力强度测试仪器,刚度弹性系数试验装置
图片尺寸400x400
恒力螺旋扭转弹簧 3.9n 力量伸缩装置
图片尺寸1000x1000
米乐体育app官网-米乐m6app官网|主页欢迎您!
图片尺寸3024x4032
2020年高考物理必考17个实验精讲精练专题03探究弹力和弹簧伸长的关系
图片尺寸329x491
弹力发电补充飞轮电池能量的弹力势能装置
图片尺寸260x477
一种新型物理教学用弹力演示装置的制作方法
图片尺寸657x1000
一种物理教学用弹力演示装置制造方法及图纸
图片尺寸1000x835
威安铁路接触网恒张力弹簧补偿装置电气化
图片尺寸750x750
有回弹力的摆动装置
图片尺寸800x767
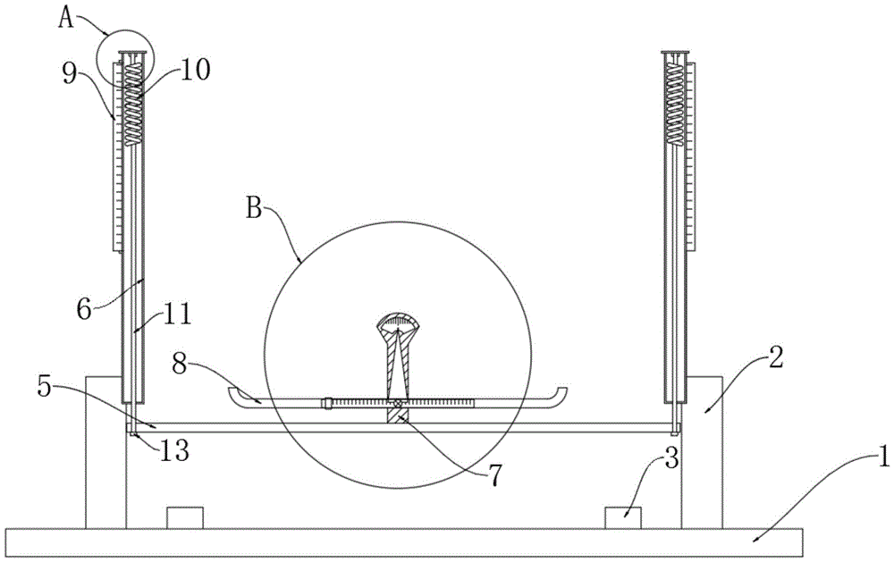
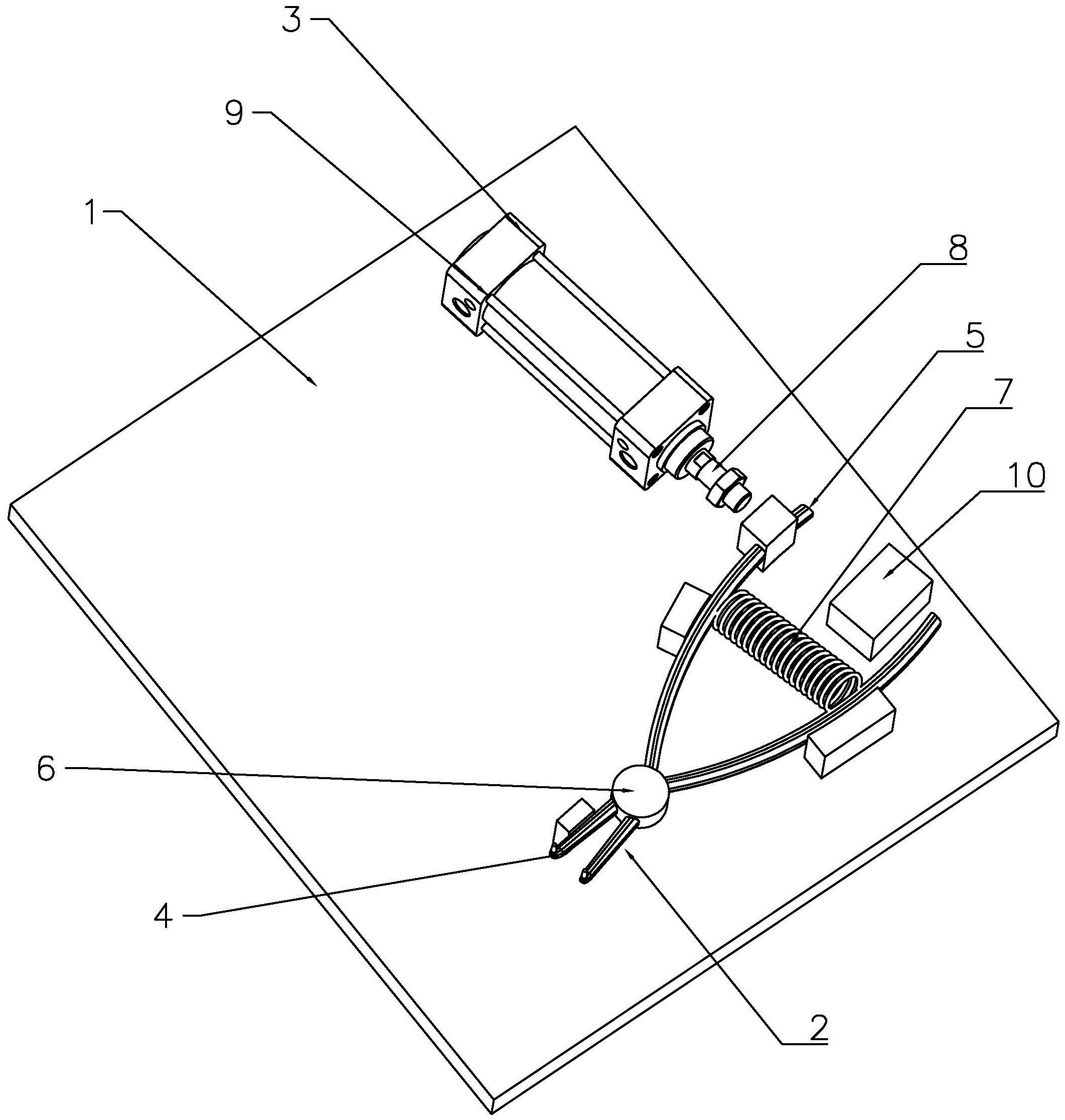
cn209674654u_一种易于操作的物理教学用弹力演示装置
图片尺寸1000x629
一种abs系统用直流电动机弹簧弹力测试装置
图片尺寸1326x1290
弹簧回弹力测试仪
图片尺寸500x500
一种卡簧弹力试验装置-爱企查
图片尺寸2123x2231