弹簧伸缩杆原理图

该伸缩杆还包括n 1级内管,第n 1级外管,外部转动件和弹簧;各级外管的
图片尺寸569x1000
一种多级伸缩杆_cn201910540590.x_知雀网
图片尺寸1000x561
一起去看看伸缩浴帘杆如何安装伸缩浴帘杆伸缩浴帘杆原理的介绍吧
图片尺寸605x375
展开全部 气压升降椅升降的气压伸缩杆里面是灌气,不压时里面的压力
图片尺寸558x626
cn201836162u_伸缩杆失效
图片尺寸1476x2736
本实用新型公开了一种伸缩弹簧装置,包括第一伸缩杆和套接在所述第一
图片尺寸641x1000
cn111237305a_一种可承重的伸缩拉杆在审
图片尺寸734x1000
一种多功能伸缩拉杆机构
图片尺寸978x1000
一种伸缩杆的制作方法
图片尺寸710x1000
图2 臂杆伸缩机构
图片尺寸314x278
一种基于弹簧和锁定组件的伸缩式转向柱机构制造技术
图片尺寸487x1000
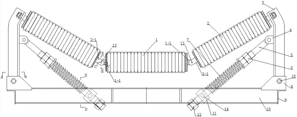
cn208413058u_一种垃圾处理用弹簧伸缩杆式缓冲托辊组有效
图片尺寸1000x393
6 - 伸缩杆 - soopat专利搜索
图片尺寸800x1082
一种弹性可调节的弹簧的制作方法
图片尺寸765x1000
步进销式伸缩杆
图片尺寸800x480
一种伸缩杆的制作方法
图片尺寸1000x567
一种用于土地资源管理展示装置的角度调节伸缩杆的制作方法
图片尺寸1000x743
一起去看看伸缩浴帘杆如何安装伸缩浴帘杆伸缩浴帘杆原理的介绍吧
图片尺寸605x375
浴帘伸缩杆的长度调节方式按浴帘杆长度调节方式主要分为全弹簧,微调
图片尺寸633x792
一种伸缩杆的制作方法
图片尺寸1000x593