弹簧卡扣原理图

一种弹性自锁卡扣,所述卡扣的主体由支座,主锁扣和主弹簧构成,所述主
图片尺寸907x883
一种弹簧扣制造技术,弹簧卡扣专利_技高网
图片尺寸843x1000
按压自动弹扣开关锁扣塑料按压弹扣塑料自锁扣门锁扣
图片尺寸1920x1327
微型按压自锁扣图纸
图片尺寸773x703
一种拆卸式塑料卡扣结构的制作方法
图片尺寸1000x717
cn201535086u_帐篷伸缩套杆弹簧扣有效
图片尺寸1687x1887
cn212123103u_一种c形弹性卡扣的压装装置有效
图片尺寸1464x2368
一种沙发弹簧卡扣的制作方法
图片尺寸1000x776
塑胶产品结构设计--卡扣
图片尺寸1222x1725
cn213088405u_一种带防脱结构的卡簧
图片尺寸1682x1413
一种弹簧自动夹紧夹具的制作方法
图片尺寸1000x808
cn212734853u_一种具有缓冲功能的卡扣装配装置有效
图片尺寸1642x1334
门扣开关按压自锁卡扣 伸缩门栅尼龙按压弹扣开关门扣
图片尺寸750x872
按压式卡扣开关 弹簧按钮开关
图片尺寸292x220
可拆卸的塑料卡扣设计可调节的塑料卡扣2022已更新今日推荐
图片尺寸474x339
cn110251206a_一种弹力线套扎器的可调卡扣结构在审
图片尺寸1000x560
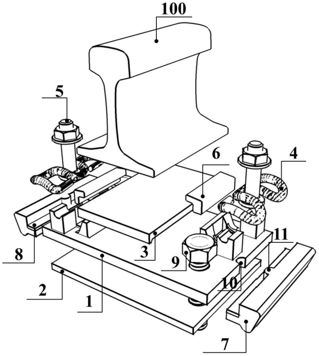
一种城市轨道交通有挡肩弹性分开式扣件系统
图片尺寸1115x1241
抓扣 按压式弹碰磁性锁扣 b2ca110003制式:英制 类型:3 型 卡扣端宽度
图片尺寸2526x1785
进阶篇3112dfm注塑卡扣
图片尺寸406x486
门扣开关按压自锁卡扣 伸缩门栅尼龙按压弹扣开关门扣
图片尺寸750x808