弹簧卡箍拆卸

280速派为方便自己动手,把弹性弹簧卡箍换成喉箍
图片尺寸700x490
厂家直销紧固件 t型弹簧卡箍 t型弹簧强力卡箍 抱箍 环箍
图片尺寸894x527
卡箍钳子喉箍拆卸装钳子汽修专用工具fosn卡钳 弹簧卡箍专用卡箍钳
图片尺寸800x800
卡箍弹簧成型
图片尺寸592x790
304不锈钢弹簧卡箍手捏式抱箍快装卡簧强力弹性喉箍水管管夹卡子 304
图片尺寸750x595
打卡自学ug建模12100钣金件弹簧卡箍
图片尺寸716x729
弹性卡箍65锰钢弹簧卡箍弹簧卡子喉箍汽车水管抱箍油管弹性管夹
图片尺寸1080x1920
真空快卸法兰快速紧扣真空卡箍 弹簧压板新式压把手铝卡箍紧固件
图片尺寸790x1332
强力锰钢弹簧卡箍管夹喉箍水管卡子电脑水冷头抱箍水箱水泵管箍环
图片尺寸750x1074
汽车水管油管弹簧弹性卡箍钳子直喉箍拆卸装钳子汽车专用工具卡钳
图片尺寸750x702
弹性环箍 气管卡子/水管/煤气管紧箍配件
图片尺寸1920x1263
油管环箍锰钢弹性卡箍日式管夹水管管卡手捏弹簧喉箍汽车卡子抱箍
图片尺寸800x800
开口销/销轴/圆柱销/圆锥销/弹性圆柱销: 开口销:用于经常要拆卸的
图片尺寸720x540
knipex凯尼派克德国铬钒电工钢安装拆卸夹持弹簧喉箍卡箍钳85系列
图片尺寸800x800
定制适用手捏日式锰钢弹簧卡箍弹性卡子环箍水管抱箍汽车油管喉箍管卡
图片尺寸800x800
手捏锰钢弹簧卡箍弹簧卡子喉箍环箍汽车水管抱箍油管管卡弹性管夹 29
图片尺寸750x902
q673b40mm弹簧卡箍
图片尺寸500x375
htc日扬kf50sclsw弹簧卡箍kf16sclsw防脱kf25sclsw防震kf40sclsw
图片尺寸2736x2736
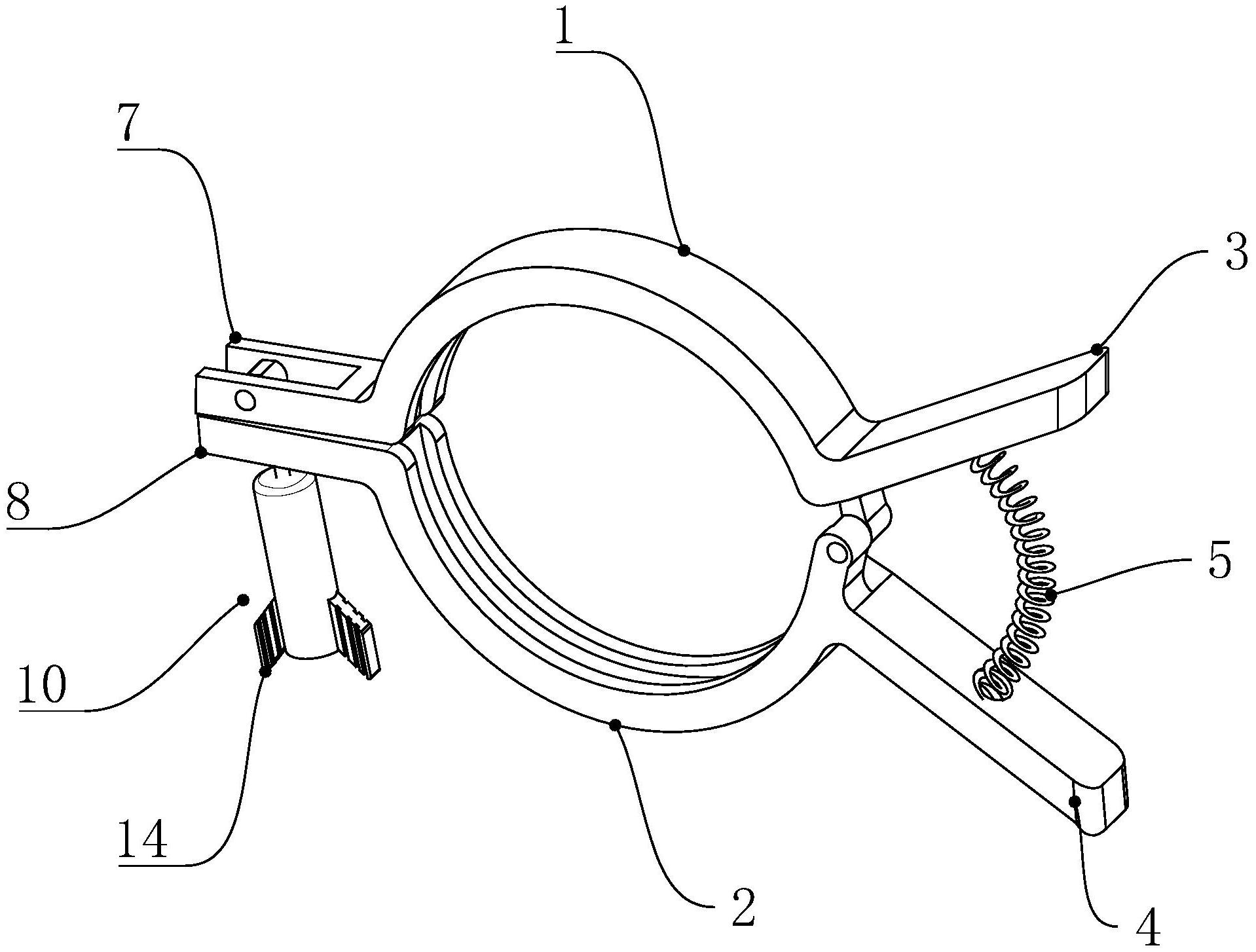
一种带有弹簧的卡箍
图片尺寸1918x1454
厂家直销紧固件 t型弹簧卡箍 t型弹簧强力卡箍 抱箍 环箍
图片尺寸825x623