弹簧垫圈怎么画

装标准型弹簧垫圈是不是必须平面的粗糙度要求较高,或者要求平面很
图片尺寸640x329
cns42521978a型鞍型弹簧垫圈
图片尺寸2245x1387
q406 组合件用弹簧垫圈
图片尺寸950x366
cns44061978鞍型弹簧垫圈a型
图片尺寸2245x1387
一种防转止退弹簧垫圈-爱企查
图片尺寸1475x1141
轻型弹簧垫圈gb8591987
图片尺寸600x479
din 6908-1990 组合件用锥形弹性垫圈
图片尺寸950x400
q403 弹簧垫圈
图片尺寸950x301
一种改进的弹簧垫圈-爱企查
图片尺寸432x352
首页 紧固,连接,定位 垫圈,垫片,垫块与卡环 垫圈 波形弹簧垫圈 三
图片尺寸2441x1701
127 弹簧垫圈 (din 127) (127 | ) helical spring lock washers
图片尺寸285x342
弹簧垫圈和弹性垫圈,鞍形和波形
图片尺寸560x550
bs180231951a型弹簧垫圈表3
图片尺寸2245x1387
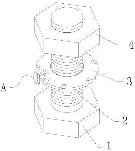
一种防转止退弹簧垫圈
图片尺寸443x494
弹簧垫圈
图片尺寸950x404
产品详细
图片尺寸601x306
矩形螺旋弹簧用垫圈
图片尺寸506x374
一种带多级支撑面蝶形弹簧垫圈的制作方法
图片尺寸1000x881
一种防转止退弹簧垫圈的制作方法
图片尺寸443x494
q418 波形弹性垫圈
图片尺寸950x654