弹簧式伸缩杆原理

一起去看看伸缩浴帘杆如何安装伸缩浴帘杆伸缩浴帘杆原理的介绍吧
图片尺寸605x375
展开全部 气压升降椅升降的气压伸缩杆里面是灌气,不压时里面的压力
图片尺寸558x626
弹簧伸缩杆在我家的极限收纳妙啊
图片尺寸1080x1439
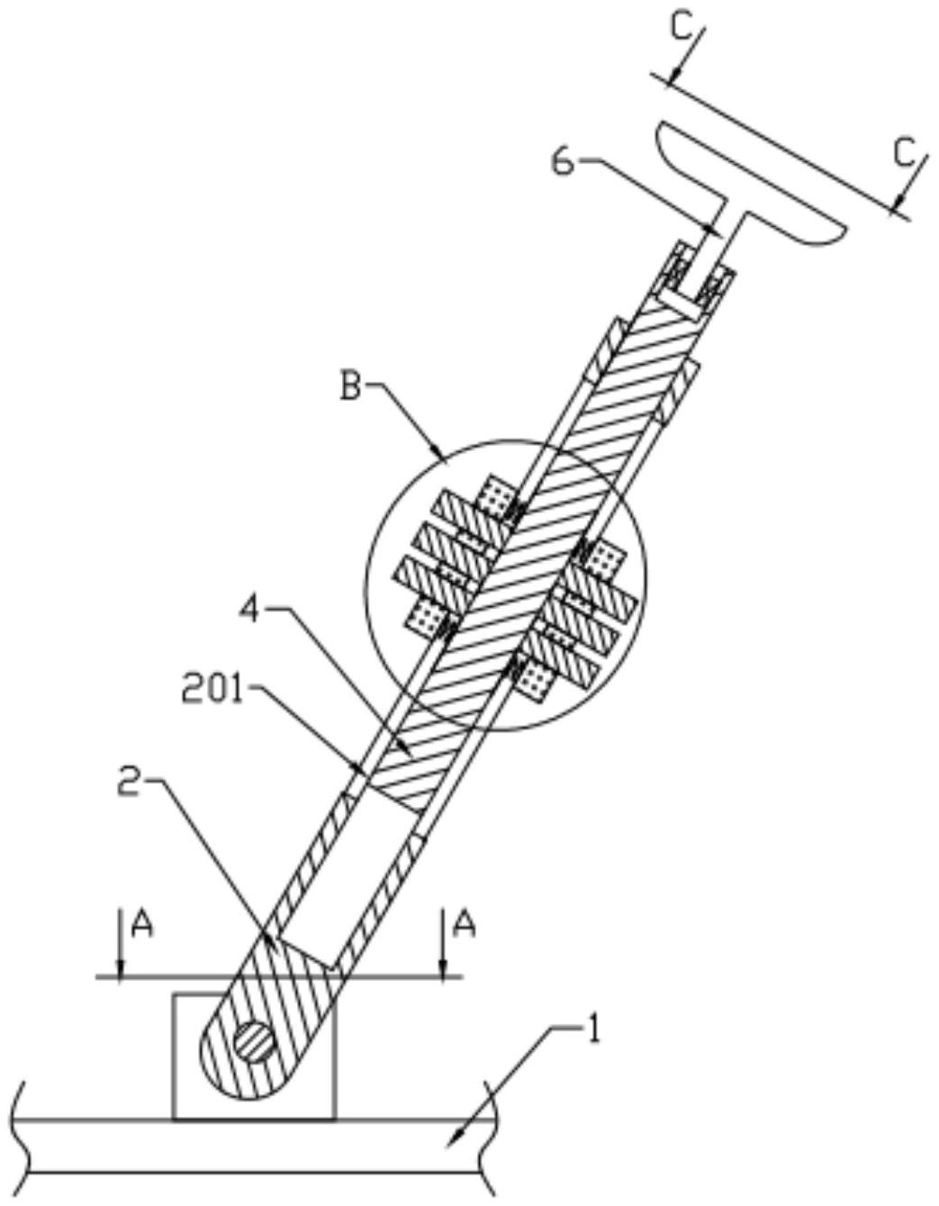
cn201836162u_伸缩杆失效
图片尺寸1476x2736
免打孔晾衣杆304不锈钢伸缩杆卧室窗帘杆升缩挂衣杆卫生间浴一体杆按
图片尺寸800x800
浴帘伸缩杆的长度调节方式按浴帘杆长度调节方式主要分为全弹簧,微调
图片尺寸633x792
一种伸缩杆的制作方法
图片尺寸1000x726
气弹簧 液压杆气动杆气撑缓冲伸缩气压杆/气动支撑杆自动撑杆限位器
图片尺寸1068x1606
抽吸油烟机配件升降支撑杆液压杆拉伸缓冲支架面板回弹气撑杆10号杆款
图片尺寸800x800
一种新型锁紧结构伸缩杆的制作方法
图片尺寸501x810
打孔伸缩浴帘窗帘凉衣撑杆可调调节门帘杆子浴帘杆
图片尺寸750x791
弹簧支气动气液压撑杆杆上翻门气撑榻榻米气压杆橱柜门床用伸缩杆
图片尺寸750x897
cn201133396y_一种可伸缩支撑杆失效
图片尺寸1858x842
一种直线拉簧电动伸缩杆制造技术,弹簧拉簧专利_技高网
图片尺寸482x1000
气动床用重型液压杆气弹簧动支撑杆伸缩杆汽气动杆
图片尺寸1080x1080
摆动杆内滑动连接有延伸至其外部的伸缩杆,伸缩杆的左右两侧分别安装
图片尺寸1043x1339
可调节伸缩杆原理
图片尺寸638x360
cn201535086u_帐篷伸缩套杆弹簧扣有效
图片尺寸1687x1887
cn101158229a_脚手架插卡旋转伸缩杆失效
图片尺寸1828x653
一种自锁式电动伸缩杆
图片尺寸598x279