徐福生画家简介

tom liesegang(usa),包福生,陈加龙,杜文岚,方佳玲,高海戈,高中华,高
图片尺寸554x554
四喜图胡嘉梁赵思温作
图片尺寸1080x1440
娃娃戏有西游记人物孙悟空哪吒图徐飞鸿沈绍伦作
图片尺寸1440x1080
裴石民,吴云根,王寅春,朱可心,顾景舟,陈福渊,施福生,谈尧坤,蒋蓉等
图片尺寸608x530
这是我班的帅锅徐影,他徐老爷咋样儿,家有闲内助,照顾滴不错吧!
图片尺寸1440x1920
(魏紫熙书画)·何道洪1152 四方虚扁·施小马1153 小供春·徐汉棠1154
图片尺寸659x471
所长侯纯斌,副所长徐东风,李大鹏过来和卢福生唠起了家常
图片尺寸500x333
竹段壶 施福生制也正是因为有施福生这样的验坯师父,加上其他老宜人
图片尺寸640x537
(通讯员 徐华山)
图片尺寸1599x1104
写美篇第一篇 娘家答谢宴 蒋福生与徐昌萍的长女蒋淼
图片尺寸2000x2667
cn2864196y_内设锥销摩擦锁紧式防松解锁螺栓失效
图片尺寸1720x816
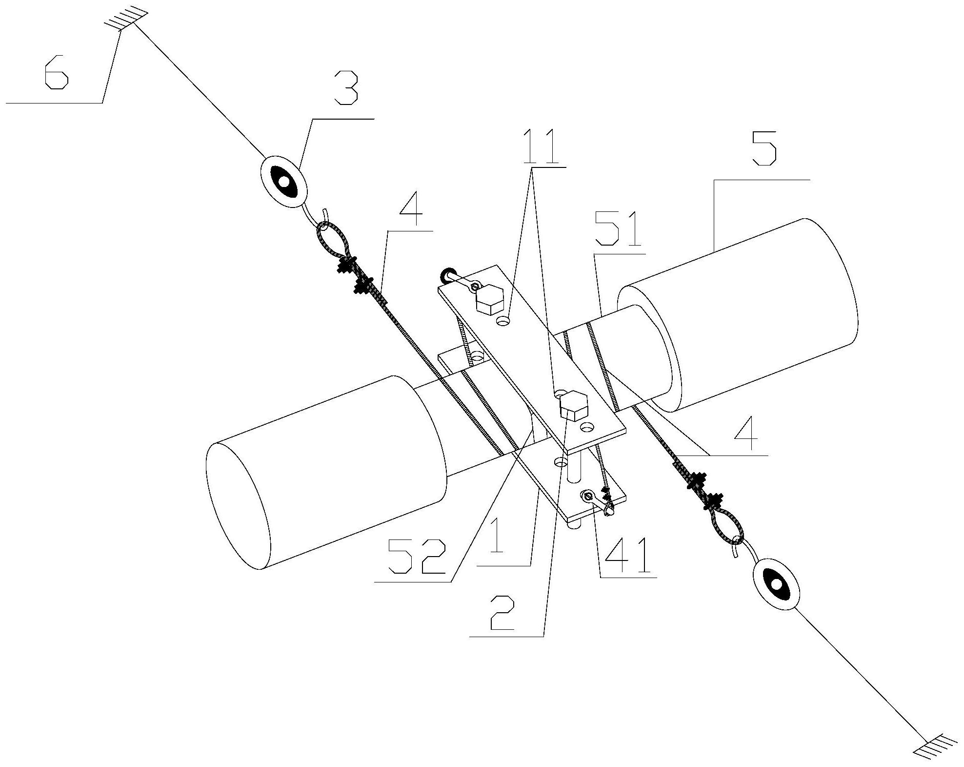
cn112376916a_一种预应力钢拉索张拉拧紧装置及施工方法
图片尺寸1976x1571
山东|脱口秀演员徐志胜,暴力丑学幽默鼻祖回山东老家过年,喜感十足
图片尺寸640x689
施福生制松鼠戏葡萄壶
图片尺寸492x282
其它 契丹后裔"福生"忠诚爱国的美篇 写美篇骏马奔腾 徐显宗主任牧师
图片尺寸640x480
徐宝芹《又是一年桃花开》选段——刘莉莉《沂蒙情》选段——梁福生
图片尺寸1024x682
写美篇第一篇 娘家答谢宴 蒋福生与徐昌萍的长女蒋淼
图片尺寸2667x2000
【鲍仲梅紫砂壶外人生】鲍仲梅其妻施秀春,乃著名陶艺家施福生之女,施
图片尺寸800x658
六十余年,临沂市柳琴剧团先后有张金兰,邵瑞武,李春生,尹桂霞,徐宝
图片尺寸600x400
萧县法院执行悬赏公告
图片尺寸667x1000