得润电子

6月3日资金流向|得润电子资金流向一览表
图片尺寸1800x800
得润电子早盘为何冲高回落?
图片尺寸1097x384
6月3日资金流向|得润电子资金流向一览表
图片尺寸2100x1088
得润电子未触及退市风险2023年度经营业绩情况有所改善快报
图片尺寸2160x3840
招聘.青岛得润电子有限公司因扩产,1,特急招30名(计时)工 - 抖音
图片尺寸1920x1278
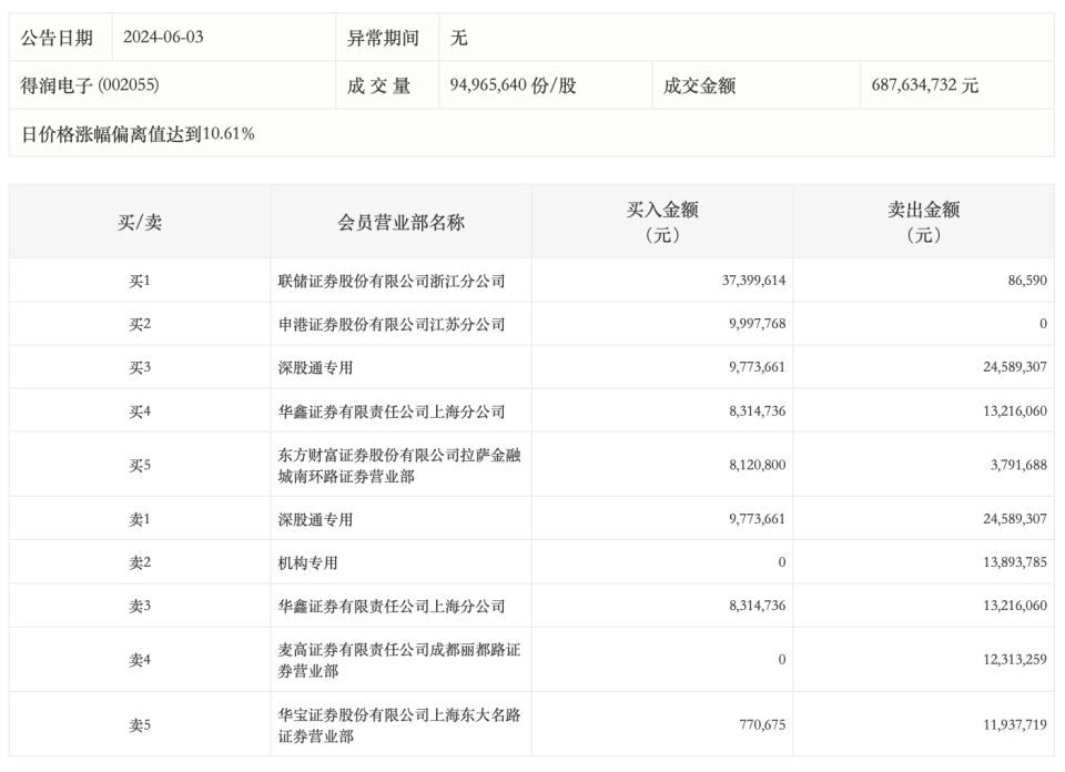
龙虎榜丨得润电子今日涨停,机构合计净卖出1389.38万元
图片尺寸960x696
得润电子6月4日快速上涨
图片尺寸578x276
得润电子,超频三
图片尺寸1031x540
得润电子早盘为何冲高回落?
图片尺寸930x328
6月3日得润电子(002055)龙虎榜数据:游资量化打板上榜
图片尺寸700x274
5月31日资金流向统计:得润电子资金流向一览表
图片尺寸1800x800
得润电子,超频三
图片尺寸759x473
得润电子:融资净买入520.73万元,融资余额3.66亿元(05-29)
图片尺寸670x212
多主力现身龙虎榜,得润电子涨停(06-03)
图片尺寸530x276
6月3日得润电子涨停分析:铜缆高速连接器,6g,光通信概念热股
图片尺寸680x274
得润电子:5月29日融资买入1303.47万元,融资融券余额3.67亿元
图片尺寸450x245
得润电子05月31日主力大幅流入
图片尺寸750x558
高速铜连接概念股反复活跃,得润电子涨超9%
图片尺寸480x853
002055得润电子今日跌幅5.07%,跌破江恩价格循环线工具关键点位7.53元
图片尺寸726x450
得润电子 设备技术员 工资
图片尺寸300x300