微动开关拆解图示

3分钟了解家电电器件之微动开关
图片尺寸640x637
微动开关工作原理以及内部结构介绍
图片尺寸1920x2560
电饭锅微动开关结构图
图片尺寸600x450
拆机-微动开关
图片尺寸1080x1920
欧姆龙光学微动开关对游戏设备的解决方案
图片尺寸660x498
微动开关的结构原理 - 86ic科技网
图片尺寸812x485
微动开关结构
图片尺寸560x465
omron微动开关拆解
图片尺寸1380x1035
东南电子##微动开关##东南微动
图片尺寸690x1103
拆个美国镀金触点微动开关
图片尺寸1280x876
微动开关的内部结构
图片尺寸3120x4160
北通宙斯拆机丨机械微动开关深度解析!
图片尺寸1080x623
omron微动开关拆解
图片尺寸1380x1035
鼠标中的微动开关位于的按键之下的电路板上,当按键按下一次后,微动
图片尺寸500x281
微动开关内部结构图
图片尺寸580x560
微动开关 kw7-9
图片尺寸700x256
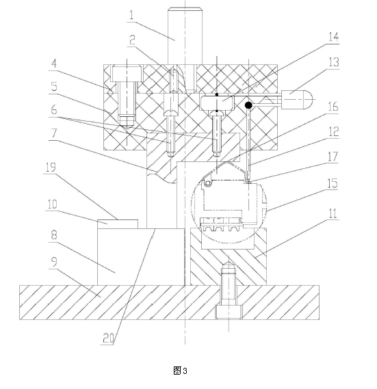
一种汽车组合开关中多组微动开关的高度一致性判定方法
图片尺寸551x569
一文看懂微动开关内部结构图及原理
图片尺寸784x487
拆解水泵里的压力微动开关
图片尺寸1455x1091
拆个带轮的行程开关三脚微动开关触点居然是冲出来的
图片尺寸1000x750