微带双工器

介质双工器 1747-1842 ptl1747f1842n10n75
图片尺寸960x959
双工器原理
图片尺寸464x285
xbhlq-h2a28双工器1710-1785mhz 1805-1880mhz双频合路器定制
图片尺寸640x480
双工器
图片尺寸1502x1002
gsm双工器射频800dcs1800wcdma2100mhz双工器lte1800介质双工器
图片尺寸300x300
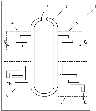
cn208142317u_微带双工器有效
图片尺寸385x445
8腔同轴宽带带阻双工器
图片尺寸1334x1334
双工器kdx-g6-5
图片尺寸2048x1536
双工器
图片尺寸3156x2440
射频双工器
图片尺寸640x640
epcos推出最新微型saw技术umts双工器
图片尺寸400x300
介质双工器 ptl485-584p30n024a 485-584mhz
图片尺寸1772x1772
无线对讲双工器
图片尺寸790x790
带通双工器
图片尺寸2048x1536
双工器 5
图片尺寸1600x1200
电子双工器
图片尺寸616x616
67新的研究成果具有高信号隔离度的四端口双模式双工器
图片尺寸1124x455
双工器 中继台双工器 名洋通信 uhf段50瓦频差6以上双工器 厂家
图片尺寸800x822
中继台双工器 30w低损耗隔离器 中转台 业余基站小双工器
图片尺寸750x622
双工器和环形器的区别
图片尺寸465x254