微波加热装置

微波管式炉(u型) 青岛厂家直销
图片尺寸2417x3035
鹰潭聚同品牌实验室专用微波炉jtone-j1-3厂家直销,不二之选
图片尺寸500x666
实验室微波炉化学反应装置
图片尺寸460x612
功率更大,单位时间内更加迅速加热食物 相比厢式微波设备
图片尺寸1280x1280
微波真空加热设备wld25lwld30s
图片尺寸597x433
常压环境下微波水热合成仪 微波加热催化反应其他实验仪器装置产品
图片尺寸750x750
波长期供应微波陶瓷烧结
图片尺寸693x637
任氏巨源1500℃微波井式炉wbmw-js4射频功率连续可调
图片尺寸800x779
color=red>器 /font>实验室装置 font color=red>微波 /font> font
图片尺寸670x443
四川致研科技气体加热反应器
图片尺寸971x964
巨源微波化学反应器配置两种加热方式:纯微波加热,微波&传统
图片尺寸533x800
图7.工业规模的锡粉微波熔化装置(a)及设备结构图(b).
图片尺寸761x1663
制取生物质油装置(微波裂解) 微波热解设备特点: 1,加热效率高
图片尺寸744x481
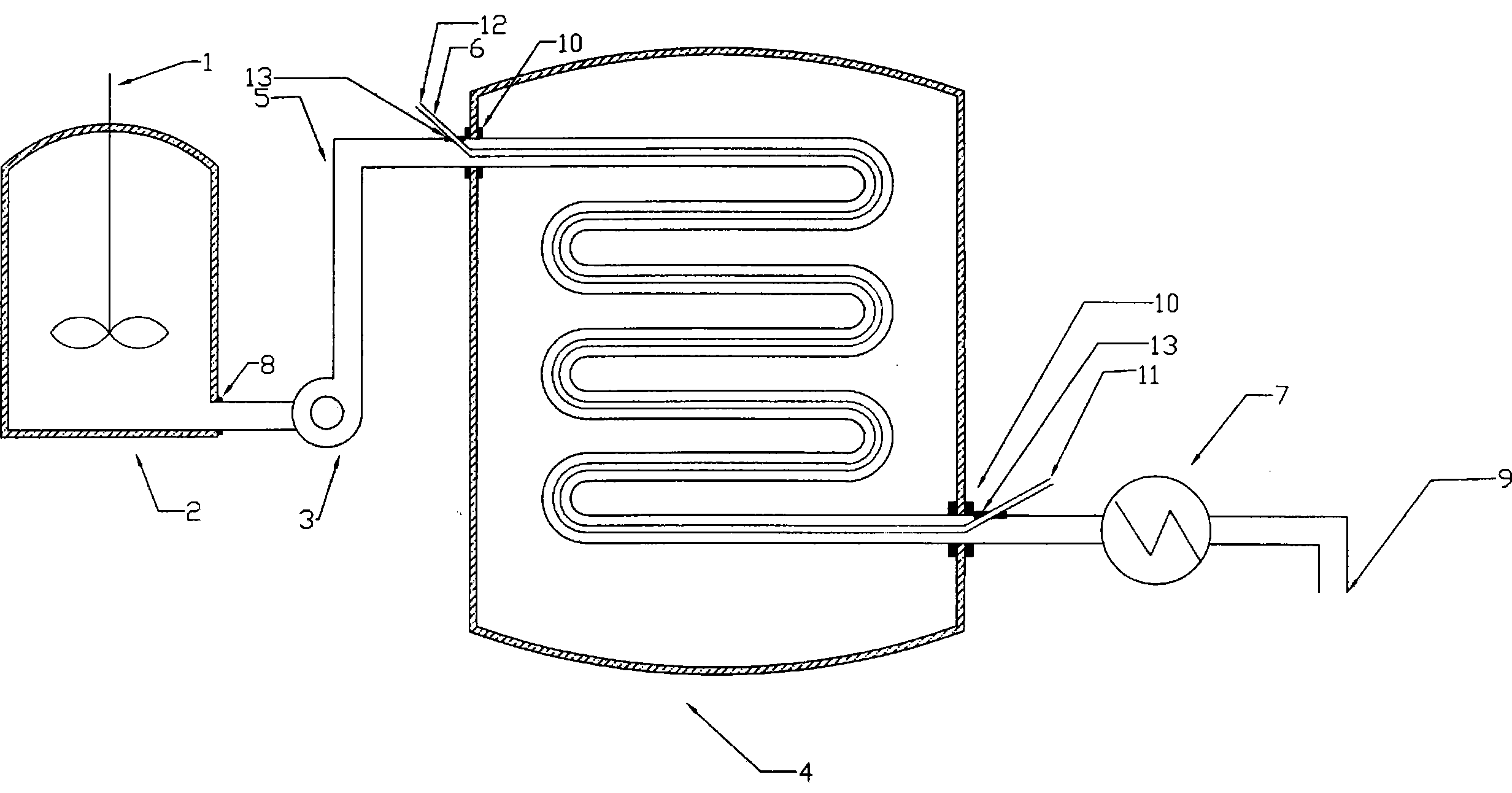
微波加热装置及微波加热方法与流程
图片尺寸1000x883
微波加热装置
图片尺寸360x270
超声波微波组合装置 巩义科瑞mcr-3s超声波微波化学反应器 厂家直销
图片尺寸1440x1080
高温微波消解装置cyij13实验室
图片尺寸400x400
杭州微波加热消解装置微波萃取消解仪
图片尺寸563x750
美国cem微波马弗炉/微波快速灰化系统
图片尺寸800x618
一种微波加热装置及其在化学反应中的应用
图片尺寸2464x1292