微波反应器简图

一种用于聚磷酸铵制备的微波反应器
图片尺寸1794x1788
一种微波高压反应釜的制作方法
图片尺寸834x1000
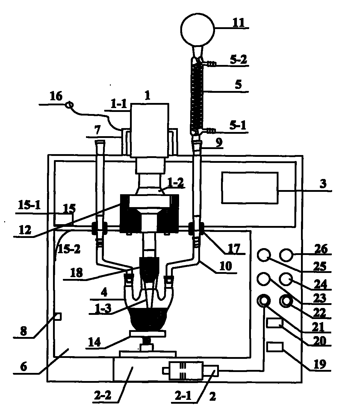
一种u型管式超声波微管气液反应器
图片尺寸1152x1736
一种u型管式超声波微管气液反应器的制作方法
图片尺寸665x1000
cn108311066a_微波处理多相流化床反应器及处理磷石膏的工艺在审
图片尺寸883x1278
27种反应器的结构及原理
图片尺寸1280x974
一种多通道微反应器
图片尺寸860x1489
微反应器和微流体化学
图片尺寸253x305
cn112897488a_一种微通道反应器制备双氟磺酰亚胺的方法
图片尺寸1755x655
微通道反应器在聚合反应中的应用
图片尺寸491x218
反应器示意图
图片尺寸600x291
一种多功能超声微波协同化学反应器及其制备纳米半导体硫属化合物的
图片尺寸1152x1390
一种无轴搅拌微波裂解反应器-爱企查
图片尺寸438x375
反应器示意图 fig.
图片尺寸414x425
一种微通道反应器的制作方法
图片尺寸1000x518
微波在高新技术中的应用
图片尺寸864x549
5. 如图所示为某反应器温度控制系统.
图片尺寸644x394
假性紫罗兰酮在微反应器中被硫酸催化环化
图片尺寸631x453
一种微通道反应组件及微通道反应器的制作方法
图片尺寸1000x750
水银;b组有玻璃丝.塑料棒.陶瓷片.小明这样分类依据的物理属性是
图片尺寸676x658