微量移液器结构图

移液器的组成
图片尺寸429x547
一种药品检测用液体定量移液器的制作方法
图片尺寸1000x967
research plus基本型 单道移液器0.1–2.5ul
图片尺寸2205x2992
eppendorf research plus 单道移液结构
图片尺寸1241x1859
微量可调移液器
图片尺寸790x1034
移液器结构
图片尺寸500x428
详细了解移液器
图片尺寸550x337
大龙微量可调移液器5-50μl 单道移液器 管嘴移液枪
图片尺寸583x535
移液器,也称移液枪,微量加样枪,微量移液器,微量移液枪,是一种小容量
图片尺寸804x880
微量移液器的使用说明
图片尺寸610x336
单道手动移液枪数字微量可调移液器加样器大容量吸头精准取液米淇
图片尺寸750x1171
一种可发光微量移液器的制作方法
图片尺寸400x1000
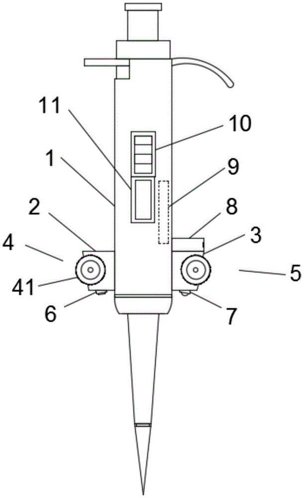
一种新型手持式微量微生物移液器的制作方法
图片尺寸675x1000
可调式微量移液器的使用
图片尺寸1237x675
一,移液器的结构4.移液器在移粘稠液体和一般液体时,操作方式一样吗?
图片尺寸633x622
一种多功能定量移液器
图片尺寸611x1000
分子生物学实验 微量可调移液枪的使用 微量可调移液枪的结构
图片尺寸1080x810
只在百度百科上看到微量移液器的简
图片尺寸504x292
天津本生 八道移液器
图片尺寸600x552
所述移液器由上至下依次包括:手柄,所述手柄为中空结构且内部设有总
图片尺寸1318x2115