快拆架规格

附近的盘扣租赁站 新式承插式快拆脚手架出租公司 0.2
图片尺寸750x1440
快拆型外墙架盘扣式脚手架
图片尺寸1374x1920
附近的盘扣租赁站 新式承插式快拆脚手架出租公司 0.2
图片尺寸750x1440
厂家直销轮扣式脚手架直插式脚手架快速架快拆架货号齐全
图片尺寸750x1176
河南厂家直销 新旧轮扣式脚手架 直插式脚手架 快拆架 快速架 货号
图片尺寸800x1120
大金不锈钢304加厚空调外机支架三角铁架子配件室外挂机1
图片尺寸1500x2322
饱满焊接工艺便捷拆卸:快速架加厚扣件:高支模内架:全泡漆红色:套扣式
图片尺寸660x481
铁皮货架规格
图片尺寸773x1024
可调丝杆4860系列盘扣式脚手架桥梁隧道支撑快拆架脚手架支持租赁
图片尺寸640x661
起始杆4860系列盘扣式脚手架桥梁隧道支撑快拆架脚手架支持租赁
图片尺寸640x318
各种规格活动架带扶手梯形移动建筑快拆插盘盘扣式镀锌钢管脚手架
图片尺寸1280x1280
现浇板,梁模板支撑快拆体系工法
图片尺寸1008x1085
快装脚手架 门式脚手架 移动脚手架 拨打老板电话马上咨询 轮
图片尺寸1080x2340
源头生产轮扣式快拆架 盘扣式脚手架 量大 建筑工地用
图片尺寸640x1024
一种杆架快拆快装结构的制作方法
图片尺寸1292x1958
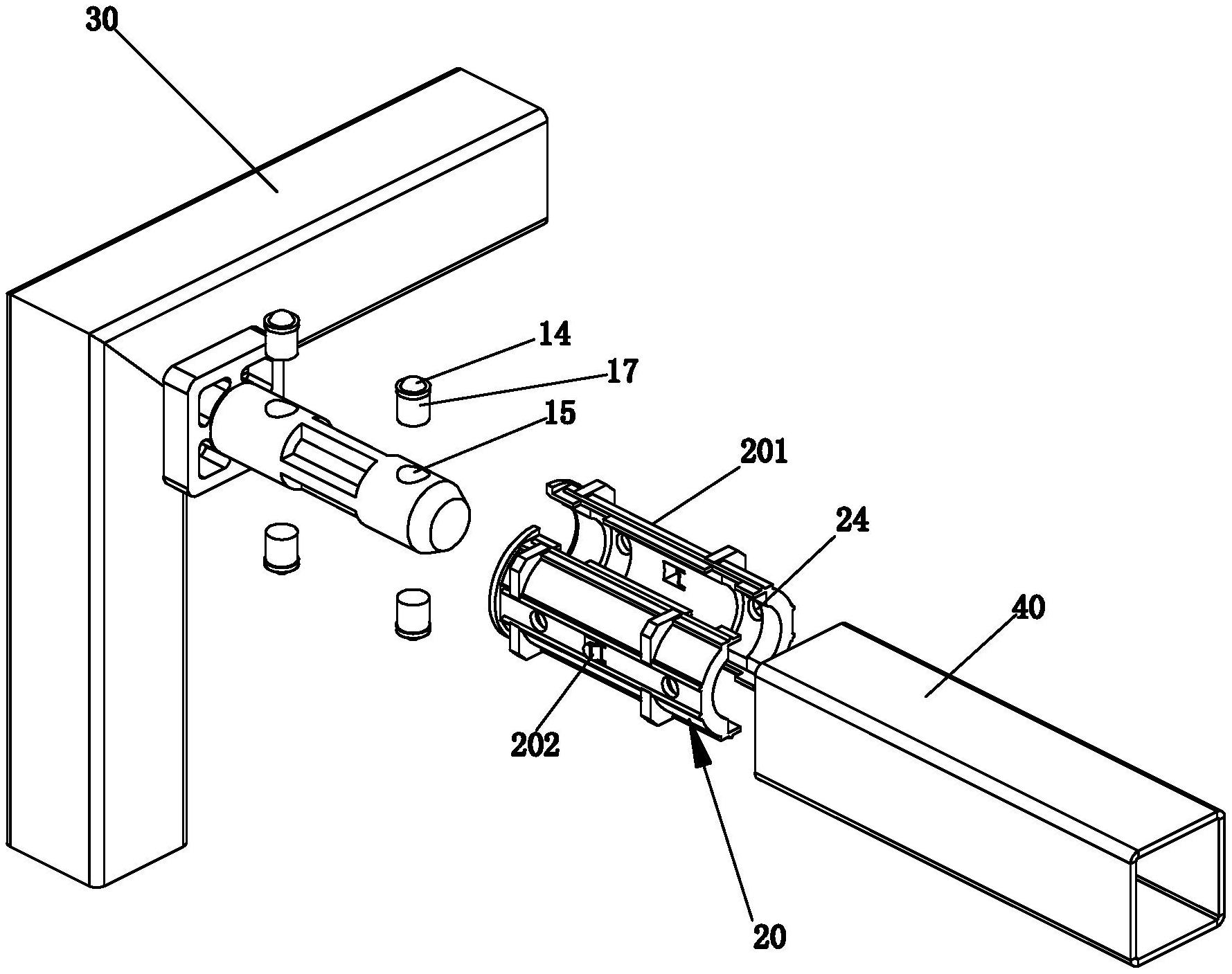
一种快装快拆结构及展示架
图片尺寸1779x1407
oqc-20机器人工具快换装置 自动快换盘 澳普托 钢球锁紧方式 - 爱企查
图片尺寸750x1872
现浇板,梁模板支撑快拆体系工法
图片尺寸1036x1064
源头生产轮扣式快拆架 盘扣式脚手架 量大 建筑工地用
图片尺寸640x1018
新款博睿思boarse硬尾桶轴快拆am车架土坡车架速降街车架林道硬架
图片尺寸750x512