快递柜结构

防积水快递柜的制作方法
图片尺寸738x1000
cn212185796u_一种双面快递柜有效
图片尺寸1179x1729
一种快递柜防卡门装置
图片尺寸1630x687
具有冷藏功能的快递柜制造技术
图片尺寸704x1000
一种智能快递柜
图片尺寸1616x1092
一种便于升降调节的快递柜的制作方法
图片尺寸1000x782
一种存放多规格物体的快递柜及使用方法
图片尺寸1715x2193
智能组合快递柜-爱企查
图片尺寸638x391
所述底件为楔形板状结构;所述移动件嵌入安装在主体前端的快递柜内部
图片尺寸389x414
cn213097427u_组合式智能快递柜
图片尺寸1710x1368
发明公开了一种具有辅助开门功能的快递柜,包括:柜主体,辅助开门结构
图片尺寸1806x1624
一种组装式快递柜制造技术
图片尺寸496x512
一种可改变存储空间的快递柜
图片尺寸1964x2203
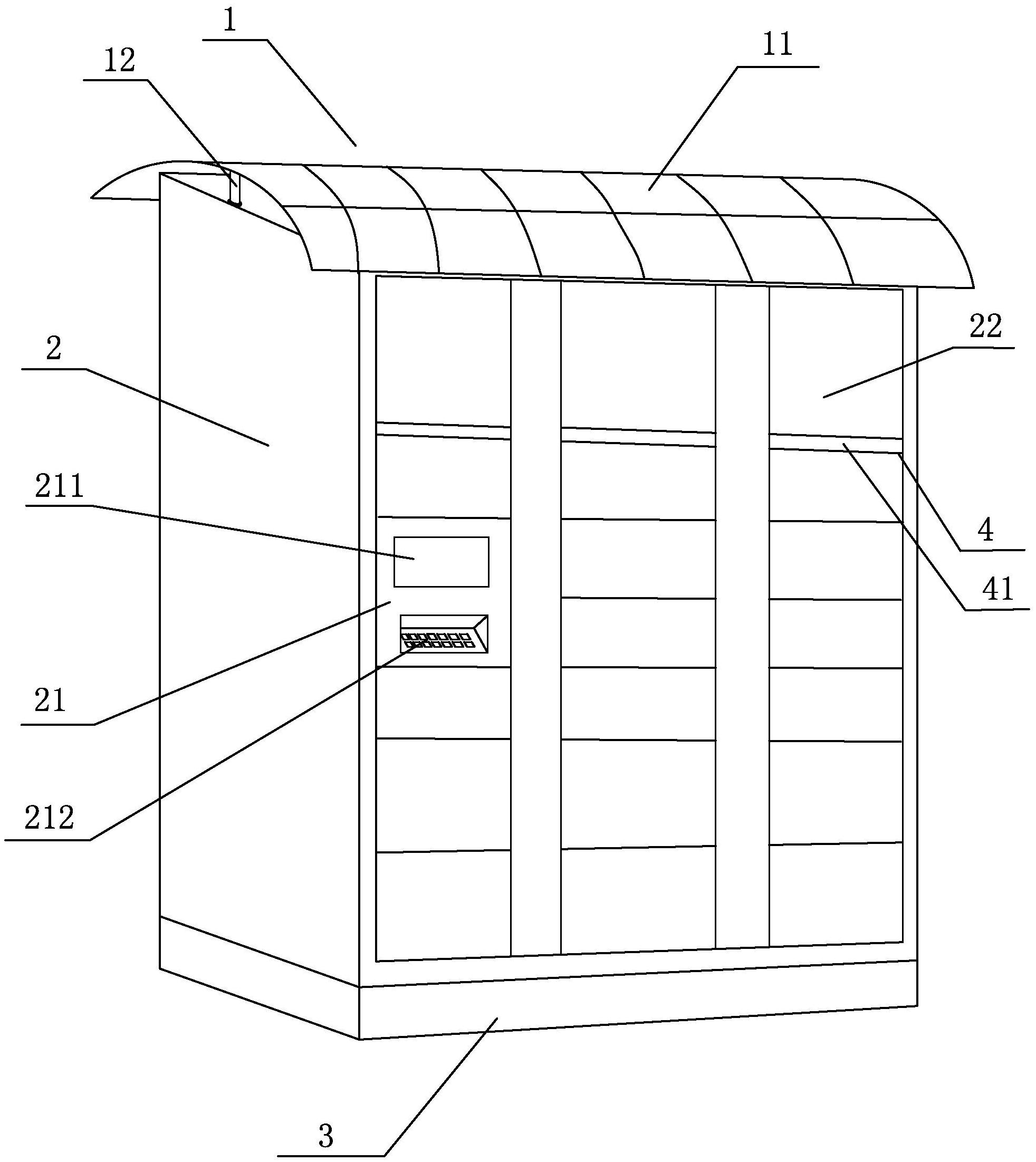
一种室外快递柜制造技术
图片尺寸807x1000
快递柜及快递柜的控制方法
图片尺寸1686x2417
空间可调节的快递柜
图片尺寸1000x816
一种单体组合式快递柜制造技术
图片尺寸1000x921
背景技术:目前的快递柜为平面结构,即一个储物柜对应一个箱门,且储物
图片尺寸942x1000
一种快递柜的制作方法
图片尺寸717x1000
背景技术:目前的快递柜为平面结构,即中间是主机柜,左右两侧为储物箱
图片尺寸771x1000