快递盒 平面图

纸箱包装设计图|平面|包装|痞子肉多多 - 原创作品 - 站酷 (zcool)
图片尺寸2184x2183
电商快递箱包装设计|平面|包装|vinales - 原创作品 - 站酷 (zcool)
图片尺寸1280x781
【可定制尺寸颜色定做来样生产pvc盒子透明专业创意设计logo文字】价
图片尺寸575x800
包装盒常见面积计算方法 - 百度文库
图片尺寸650x614
三角形纸箱_三角形定做长条雨伞鱼竿打包装定制批发快递长方形纸盒子
图片尺寸790x1120
包装盒子|平面|包装|寻沧海 - 原创作品 - 站酷 (zcool)
图片尺寸1280x867
搬家纸箱定做
图片尺寸1920x1571
纸盒- 堆糖,美图壁纸兴趣社区
图片尺寸1200x1697
丝袜包装盒 长丝袜袜子内裤包装纸盒定制 连裤袜防走光裤包装盒-阿里
图片尺寸750x956
纸盒-堆糖,美好生活研究所
图片尺寸1200x1770
纸箱子搬家大号飞机盒彩色纸箱子 大号快递包装盒 内衣服装包装纸盒批
图片尺寸750x510
文物及艺术品包装,运输,操作指南-内外包装箱基本常识
图片尺寸1128x1000
纸盒- 堆糖,美图壁纸兴趣社区
图片尺寸1200x1694
包装盒平面图素材下载素材下载_包装盒平面图素材下载模板_包装盒平面
图片尺寸1000x1000
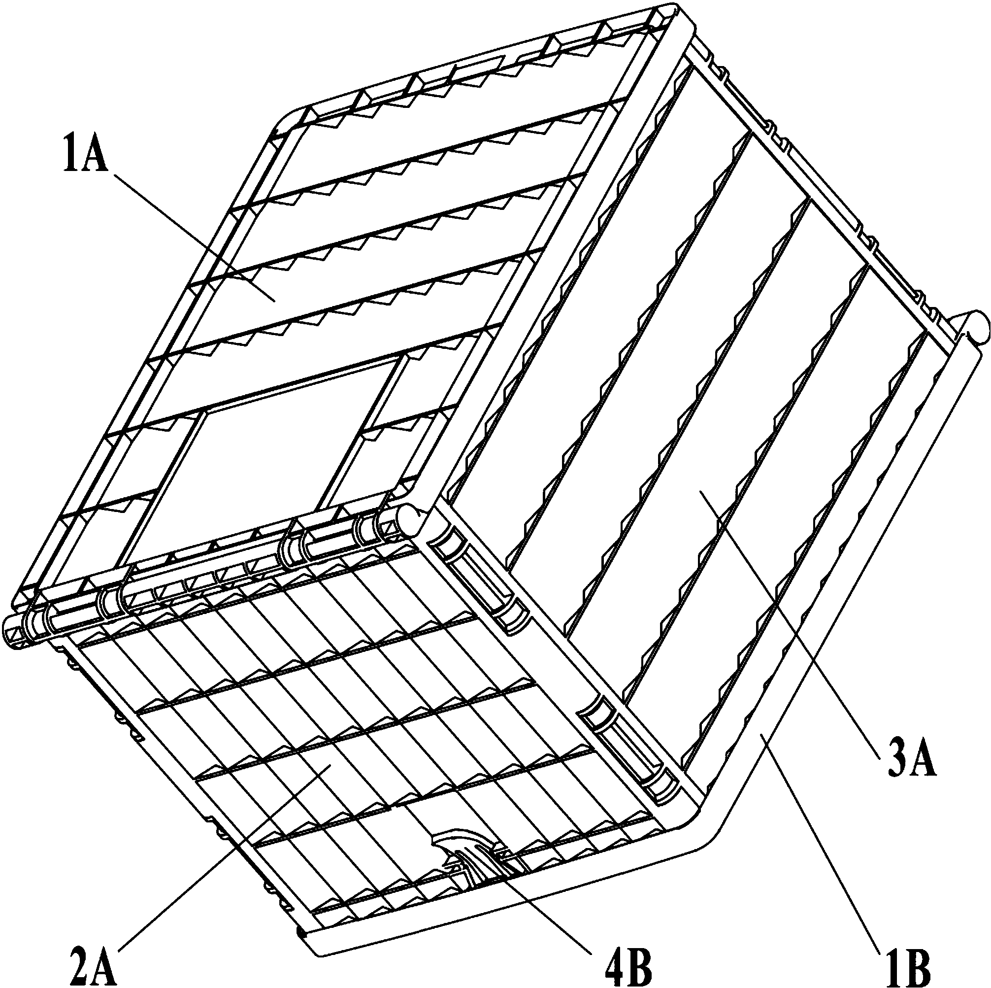
一种带封口销的拼装式快递盒-天眼查
图片尺寸2012x2005
常用纸盒结构
图片尺寸920x690
包装盒设计-花瓣网|陪你做生活的设计师 | 包装盒型设计展开图,转需~
图片尺寸658x591
厂家加工定制瓦楞飞机盒彩盒加工快递特硬纸箱包装礼盒定做_厂家加工
图片尺寸790x1551
各种纸盒平面图-堆糖,美好生活研究所
图片尺寸425x2980
包装盒 - 原创作品 - 站酷(zcool)
图片尺寸1280x941