快速堆积门图纸

快速堆积门
图片尺寸1205x800
堆积式快速门3
图片尺寸545x540
一种稳定性强的工业自动快速堆积门
图片尺寸1868x1315
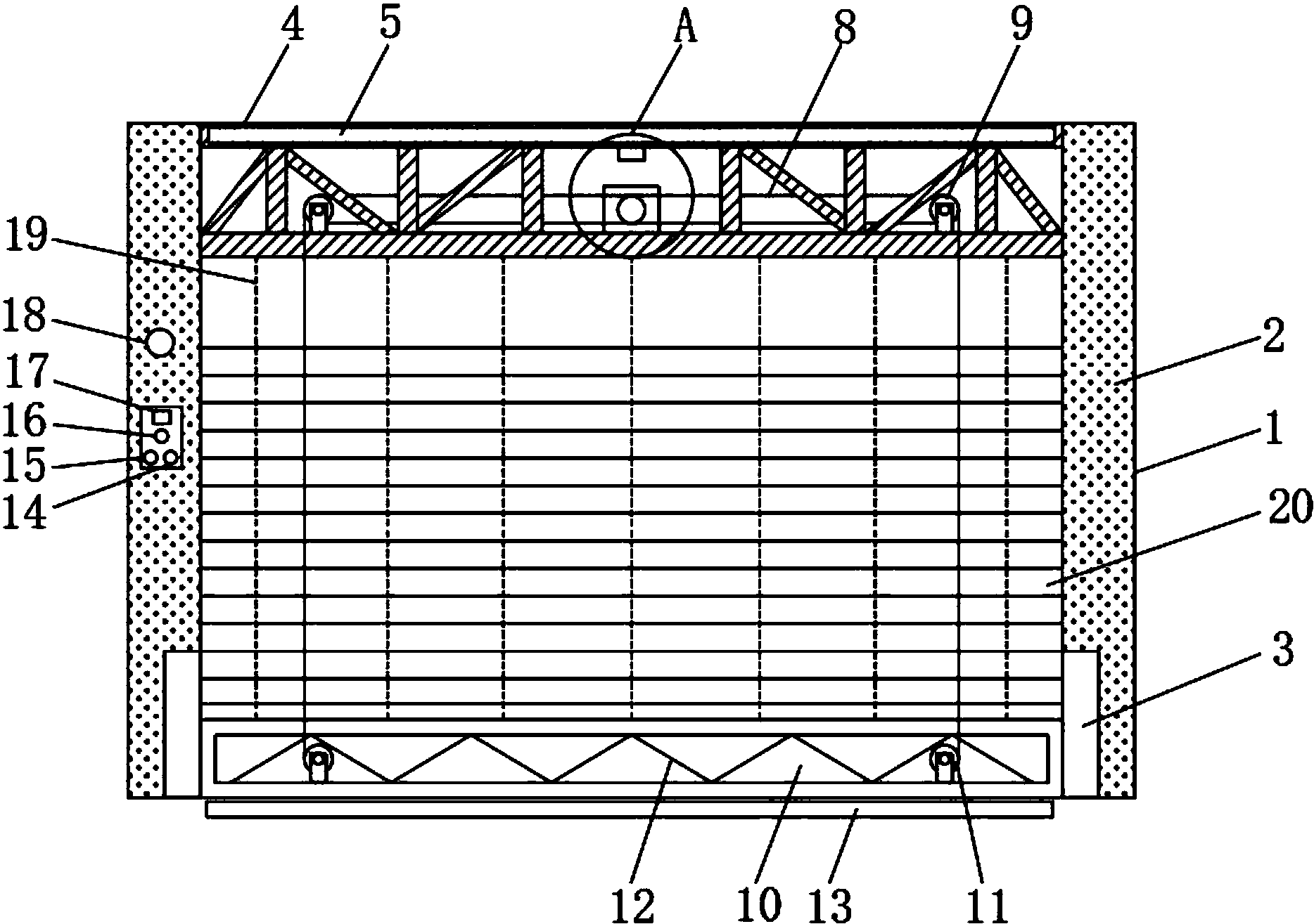
抗风型快速堆积门
图片尺寸1524x1908
快速堆积门安装示意图
图片尺寸402x359
快速堆积门图纸
图片尺寸745x478
自动快速门产品配置说明
图片尺寸747x476
堆积门图纸
图片尺寸750x473
苏州55平米大型堆积抗风快速卷门技术方案|苏州快速堆积门
图片尺寸600x396
西朗054658苏州高配置伺服系统硬质快速门
图片尺寸495x450
柔性船厂机库大门抗风门工业厂房快速堆积门雷达感应快速卷帘门
图片尺寸750x1007
北京pvc快速卷帘门感应卷帘门车间快速门地库堆积门
图片尺寸800x800
一种应用于矿山中的软帘堆积门制造技术,快速卷帘门快速堆积门专利_技
图片尺寸1000x878
上海九玖企业厂房快速堆积门 苏州高速卷帘门 常州柔性机库门安装
图片尺寸790x790
车库门工业门快速门生产厂家
图片尺寸472x303
供应坪山自动防尘门,无尘室快速门订做
图片尺寸862x538
pev怎么计算实例 保险pev怎么算
图片尺寸526x369
天津电动车库门厂家翻版门小区铝合金车库门自动工业门感应提升门
图片尺寸850x600
硬质快速卷帘门图纸
图片尺寸577x409
快速门堆积门订做
图片尺寸961x1278