快速接头分解图

快速接头结构原理动画
图片尺寸1080x1920
定做平面式液压快速接头碳钢 超高压油管连接挖掘机破碎锤打桩机快换
图片尺寸750x628
cpp20l-6b | 轻便型快速接头 20系列柱塞 l型螺牙型 | pisco(匹士克)
图片尺寸1198x500
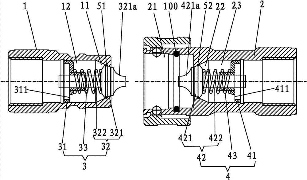
一种快速接头的制作方法
图片尺寸1000x886
格雷希尔gripseal气动快速接头的使用方法
图片尺寸731x543
图解液压快速接头内部结构
图片尺寸724x475
什么叫快速接头?具体结构怎样?
图片尺寸650x469
riegler 自锁c式快速接头单手操作气动快速接头气管接头sa403sp30
图片尺寸1920x1279
cn100422622c_气动工具进气口的快速接头失效
图片尺寸1928x2849
一种用于lng汽车罐车装卸的干式快速接头
图片尺寸1642x1336
一种流体快速接头
图片尺寸2000x1145
液压快速接头内部结构详解!
图片尺寸802x533
一种气动快速接头的制作方法
图片尺寸1000x580
自锁式快速接头
图片尺寸2507x1225
快速接头 sus316/弯管型/kqg2l系列(kqg2l04-m5)根据数量多少打折
图片尺寸455x241
cn201636477u_快速接头失效
图片尺寸2868x1381
一种净水器的管道式快速接头的制作方法
图片尺寸443x293
图解液压快速接头内部结构
图片尺寸980x482
一种改进型耐高压气动快速接头
图片尺寸1000x586
快速接头基本知识ppt
图片尺寸1080x810