快速接头图纸

快速接头制造技术
图片尺寸1000x624
cn201636477u_快速接头失效
图片尺寸2868x1381
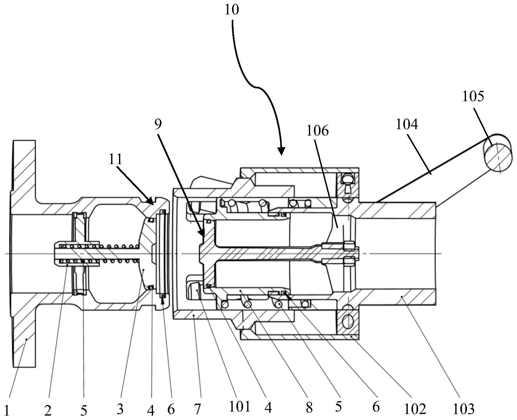
一种流体快速接头
图片尺寸2000x1145
一种液压快速接头的制作方法
图片尺寸1000x515
图纸来了:快速接头.#技术分享 #干货分享 #图纸 #机械设 - 抖音
图片尺寸1440x2194
cn203023703u_一种改进型耐高压气动快速接头有效
图片尺寸1000x586
一种直插式快插接头的制作方法
图片尺寸930x1000
开闭式液压快速接头公插头h401-□pf
图片尺寸950x440
快速接头
图片尺寸753x421
一种快速接头的制作方法
图片尺寸1000x886
一种快速插接头
图片尺寸1863x1200
一种干式快速接头的制作方法
图片尺寸600x553
一种快速接头制造技术
图片尺寸917x1000
一种用于lng汽车罐车装卸的干式快速接头
图片尺寸1642x1336
一种耐高压快插接头的制作方法
图片尺寸797x1000
一种柴油机油管快速接头
图片尺寸1000x517
快插接头及其装配方法与流程
图片尺寸871x1000
黄铜快速接头
图片尺寸600x600
一种空调管路快速接头的制作方法
图片尺寸1000x840
一种气动快速接头的制作方法
图片尺寸1000x580