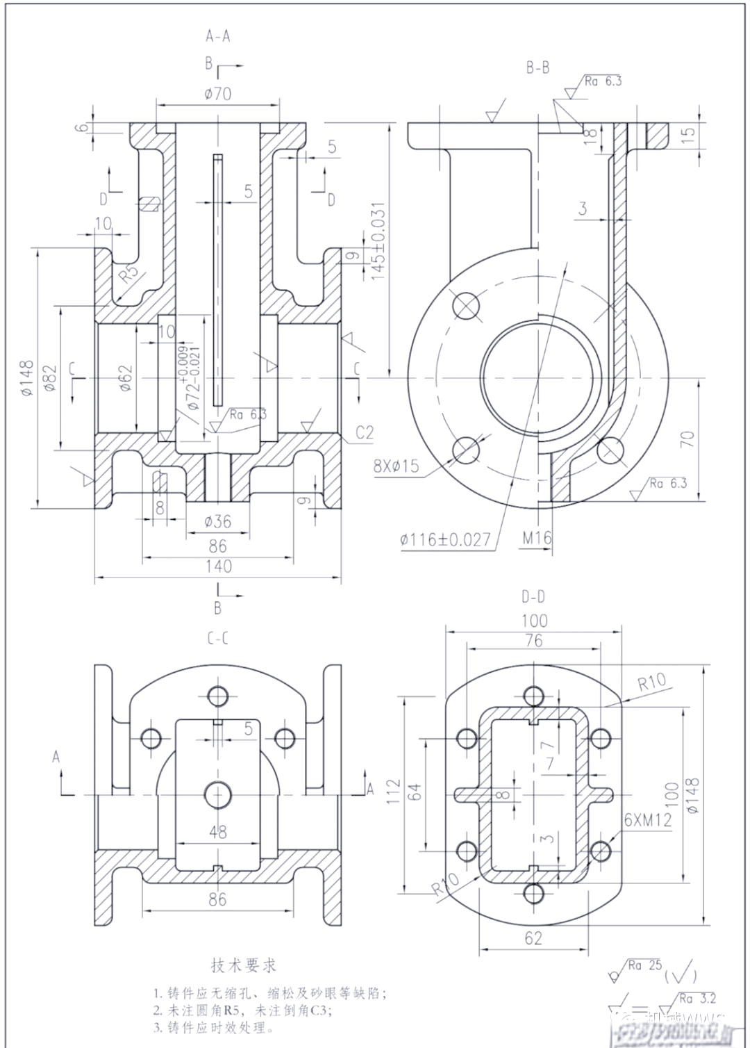
快速阀 零件图

k179-快速阀阀体 机械加工工艺规程及.k179-快速阀阀 - 抖音
图片尺寸852x1136
快速阀-爱企查
图片尺寸1632x1931
阀门快速开启结构
图片尺寸1788x2051
快速阀cad图纸
图片尺寸1728x1080
快速阀-第四届"高教杯"
图片尺寸1721x1124
t5744-93-船用铜气动快关阀
图片尺寸2472x3484
一种快开截止阀
图片尺寸1530x1508
阀体安全阀装配图及零件图,学员赚300元.#春庭雪翻唱 学员
图片尺寸680x1256
一种双控式快速切断阀
图片尺寸1892x2428
快速启闭隔离阀
图片尺寸1284x2281
食品级快装球阀
图片尺寸1491x959
p41x,p42x单口快速排气阀
图片尺寸824x828
图纸来了:上下式手动换向阀.#技术分享 #图纸 #干货分享
图片尺寸1440x2198
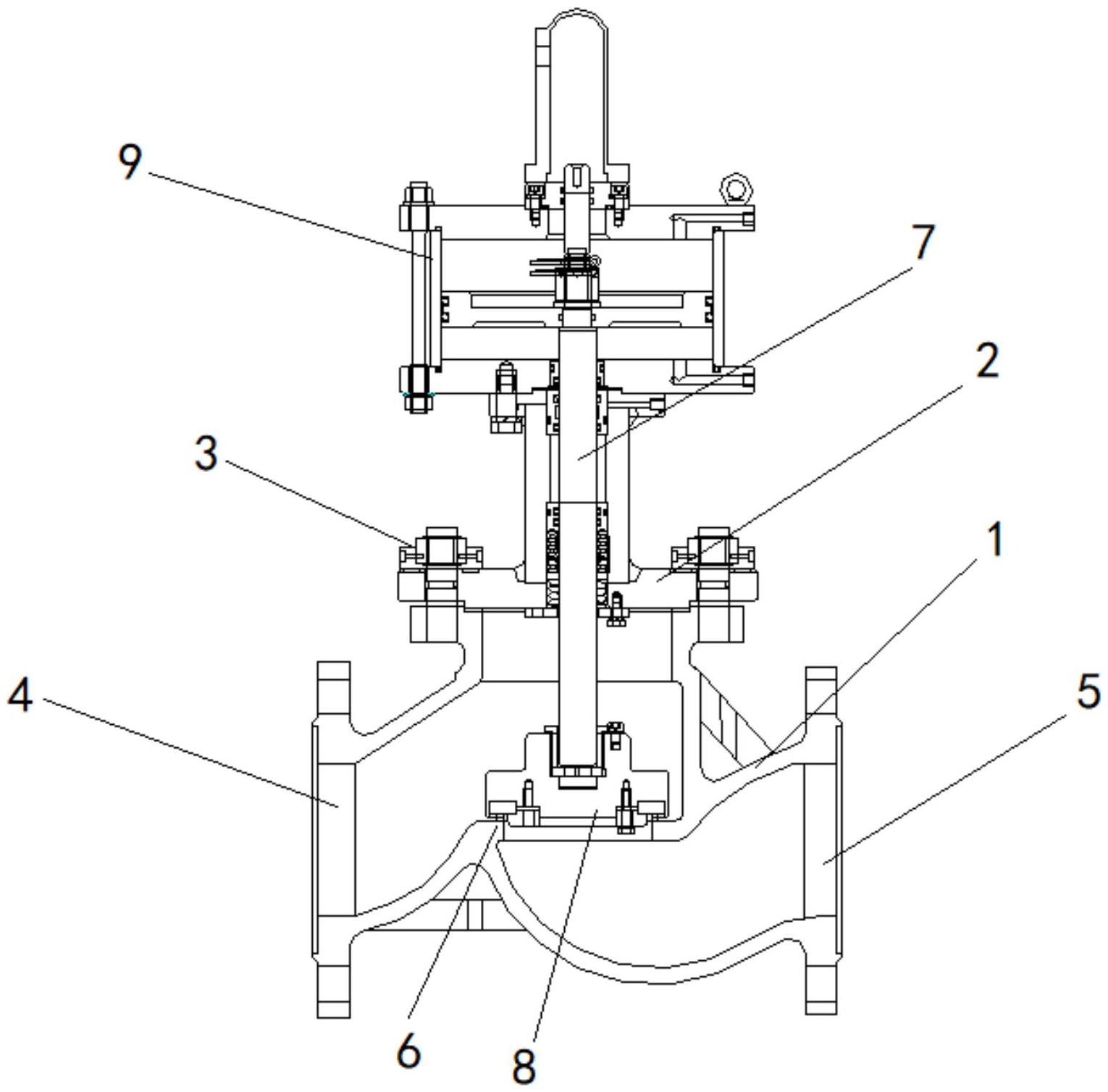
零件图解当需要打开阀门时,逆时针转动手轮,阀门会上升,从而打开阀体
图片尺寸1080x1508
图纸来了:蝶阀.#solidworks教学 #图纸
图片尺寸1240x1755
快速排污阀
图片尺寸441x238
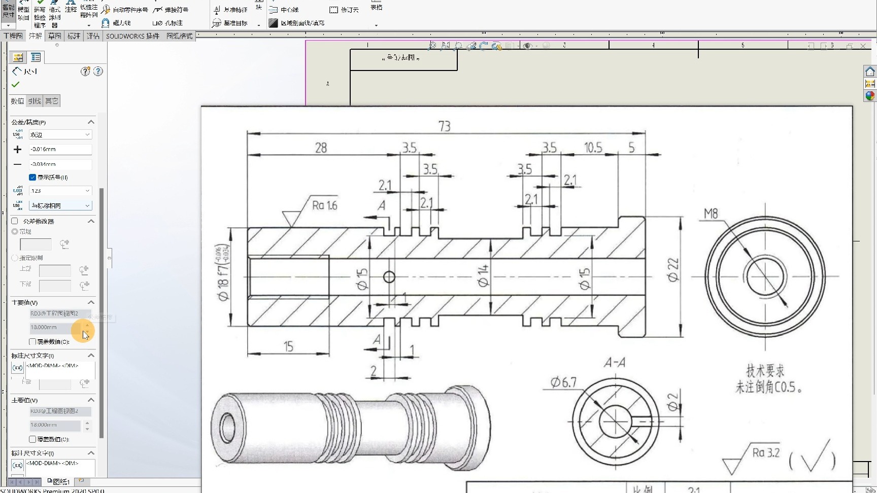
sw教学-手动换向阀-2.2阀芯工程图
图片尺寸1728x972
图纸来了:角阀(共13个零件)#技术分享 #图纸 #机械设计
图片尺寸1440x2194
铸钢闸阀图例
图片尺寸1070x717
kp快速排气阀技术特点
图片尺寸227x300