快门结构图

为什么日本手机拍照时必须要有快门声这个人起到决定性作用日本文化
图片尺寸818x522
一种改进型的旋转快门机构制造技术
图片尺寸1000x891
摄影创作理解掌握快门的使用方法是前提
图片尺寸640x439
一种航空相机用物镜中心式机械快门
图片尺寸836x1000
机械快门结构原理_机械快门和电子快门_微单快门设置机械还是电子
图片尺寸1080x810
快门速度不是速度想要精通数码相机就要明白这些知识
图片尺寸640x448
镜间快门上弦后调整快门速度会损伤快门吗
图片尺寸1031x672
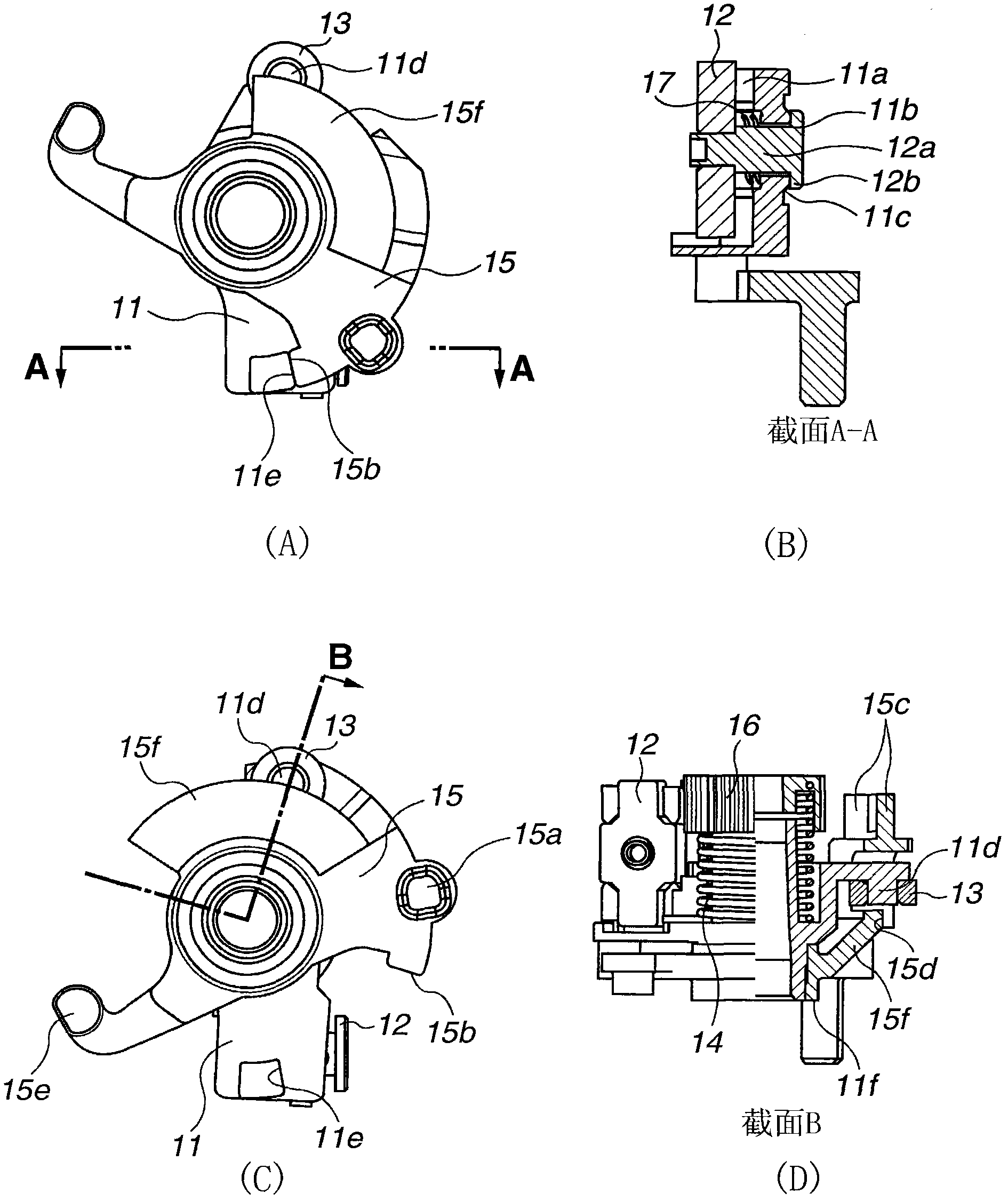
快门装置
图片尺寸1890x2251
10_快门ppt
图片尺寸1080x810
单反结构
图片尺寸2201x1307
你真的了解快门吗
图片尺寸3352x1896
快门:
图片尺寸640x962
摄影初级班第四课相机基础快门是什么?
图片尺寸700x466
相机快门结构
图片尺寸925x1000
一种机械快门结构的制作方法
图片尺寸1000x922
什么是快门单反摄影基础知识四
图片尺寸640x421
用光影定格摩旅之美------摄影基础知识系列讲座
图片尺寸743x557
一种全帧转移型ccd相机镜间快门装置制造方法及图纸
图片尺寸700x1000
快门机构
图片尺寸720x523
相机的基本结构 快门 胶 卷 焦距 镜头 相机顶视图
图片尺寸1080x810