悬吊式雨水管

雨水悬吊横管
图片尺寸479x259
虹吸式雨水排放系统排水管道均按满管压力流原理设计,悬吊管无坡度
图片尺寸600x334
开发商能学学不国外雨水管都不装外面了内嵌在墙里好看还防盗
图片尺寸640x839
春季京通品牌黑色pe虹吸排水 塑料虹吸管材管件
图片尺寸389x550
南宁市同冠建材有限公司
图片尺寸800x1066
量大,地沟易返水3,立管管径大,数量多,交叉施工易打架;2,雨水斗流量小
图片尺寸500x334
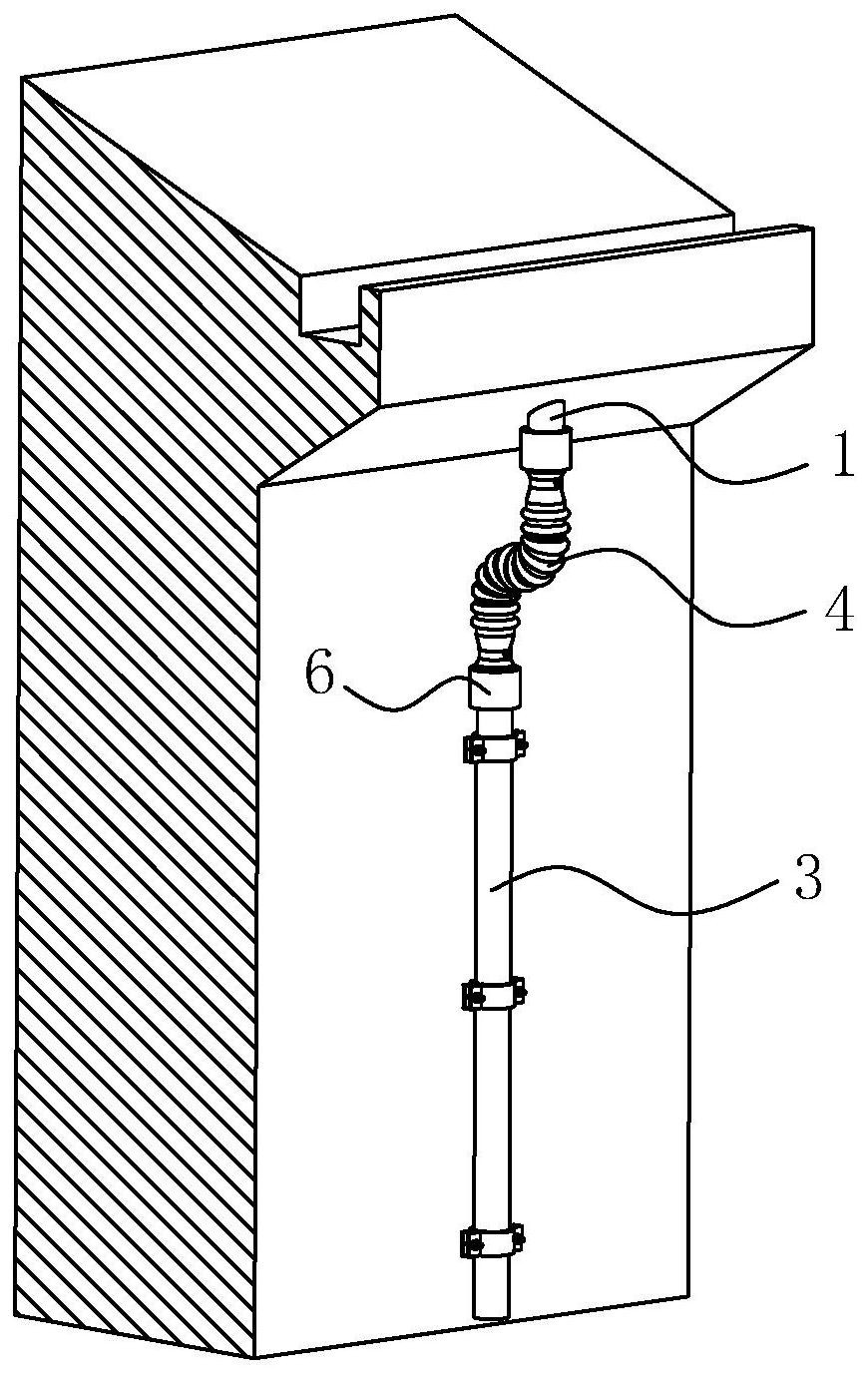
一种悬吊式雨水管道的安装方法
图片尺寸870x1379
湖北新源虹吸排水悬吊系统方刚管产品相册 - 湖南虹吸雨水技术工程
图片尺寸640x480
pvc雨水管
图片尺寸642x526
电力悬吊保护
图片尺寸5906x3691
南宁同层排水悬吊管卡 m10/m20安装片欢迎选购
图片尺寸400x400
2,管道 (1)悬吊管为明渠流排水,一根悬吊管连接的雨水斗数量不做限制.
图片尺寸640x480
十八层楼阳台雨水立管设计dn50是否合适?
图片尺寸2048x1536
防城港批发价格铝合金空调管科鲁斯彩铝落水系统
图片尺寸481x710![[节点详图]虹吸雨水系统大样图](https://i.ecywang.com/upload/1/img0.baidu.com/it/u=1033256030,630648104&fm=253&fmt=auto&app=138&f=JPEG?w=422&h=531)
[节点详图]虹吸雨水系统大样图
图片尺寸422x531
如果隔离层厚于180mm,雨水斗的底座必需延伸至能与管径56mm的连接管
图片尺寸750x750
先进的虹吸技术应用于屋面雨水排放,有效解决了超高建筑,超大屋面的雨
图片尺寸640x478
虹吸式屋面雨水排水系统由防漩涡雨水斗,雨水悬吊管,雨水立管,埋地管
图片尺寸660x330
屋面雨水悬吊管与埋地管的讨论?
图片尺寸837x407
高碑店市别墅外墙雨水管批发 爬山虎
图片尺寸686x493