悬垂线夹组装图

opgw光缆悬垂线夹安装步骤 厂家直供批发价格
图片尺寸736x490
上海永固电力金具悬垂线夹中心回转式xgu2xgu3
图片尺寸1000x686
adss光缆用悬垂线夹
图片尺寸580x378
悬垂线夹类型线路金具
图片尺寸1397x932
opgw光缆金具 上海opgw悬垂线夹价格 上海opgw悬垂金具供应商
图片尺寸1600x491
opgw光缆用悬垂,双悬垂线夹
图片尺寸670x523
1-3-2-2线路金具2-悬垂线夹
图片尺寸650x334
预绞丝双悬垂线夹安装图解
图片尺寸510x242
供应固力发cgh铝合金提包式悬垂线夹
图片尺寸600x280
上海永固电力金具悬垂线夹xgjj型xgjj42410s
图片尺寸1000x568
悬垂线夹(加强型)
图片尺寸659x326
悬垂线夹opgw光缆,预绞式地线悬垂线夹,通信金具
图片尺寸436x484
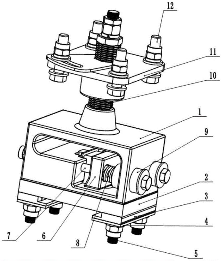
一种具有防锈蚀功能的绝缘子串用悬垂线夹的制作方法
图片尺寸326x443
opgw光缆悬垂线夹 预绞丝悬垂线夹
图片尺寸440x356
一种可脱落式汇流排悬挂线夹专利_专利申请于2018
图片尺寸852x1000
cn112653058a_一种用于电气工程的悬挂式电缆夹持装置
图片尺寸1897x1801
【供应电力金具光缆金具 耐张线夹 耐张金具的报价 o
图片尺寸910x500
易迪电气 gh1-150/35 电缆分支线夹 阻燃型绝缘穿
图片尺寸1938x1192![nej,jne(nxj,jnx)楔型绝缘耐张线夹-[报价-资料]](https://i.ecywang.com/upload/1/img2.baidu.com/it/u=3021776829,4096633644&fm=253&fmt=auto&app=138&f=JPEG?w=670&h=426)
nej,jne(nxj,jnx)楔型绝缘耐张线夹-[报价-资料]
图片尺寸670x426
单线悬垂线夹 (11).jpg
图片尺寸1000x1000