悬板活门工作原理

防爆超压排气活门安装详解
图片尺寸968x600
跨境出口专供货源否门框最大尺寸540mm(cm)门框板材厚度悬浮平开门307
图片尺寸790x1034
为确保万无一失,浇灌门框墙的混凝土之前施工单位还需征得防护设备
图片尺寸779x495
一种防爆波悬板活门的制作方法
图片尺寸722x1000
一种悬摆式防爆破活门
图片尺寸1187x2393
人防中关于悬板活门
图片尺寸689x538
一种悬摆式防爆波活门的制作方法
图片尺寸685x1000
一种改进的悬板式防爆波活门结构
图片尺寸706x1000
一种改进的悬板式防爆波活门结构的制作方法
图片尺寸708x1000
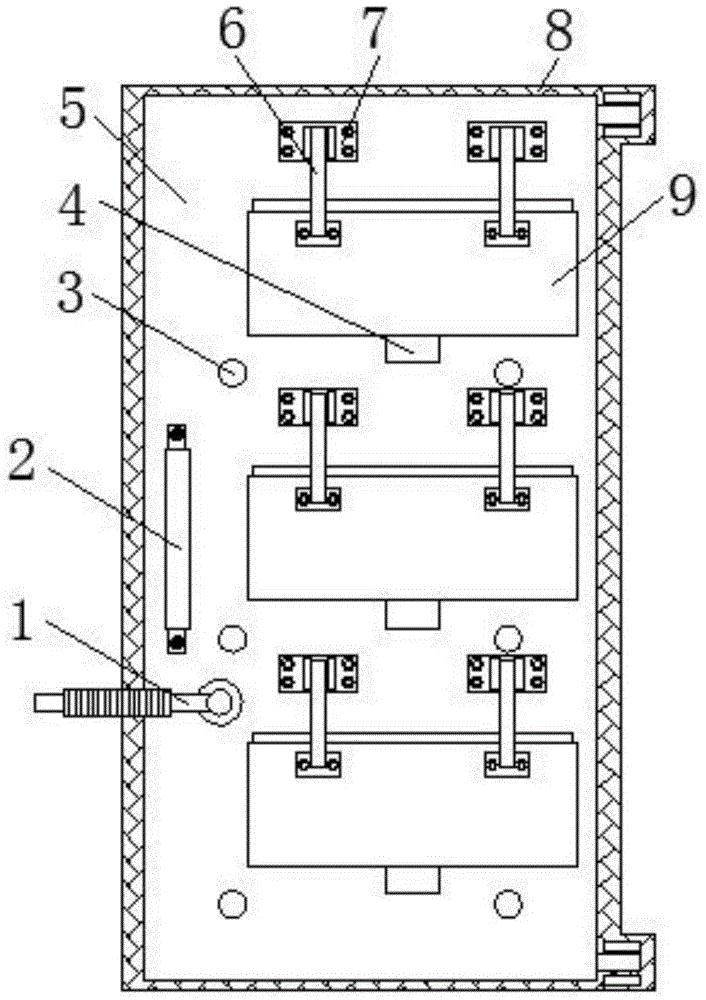
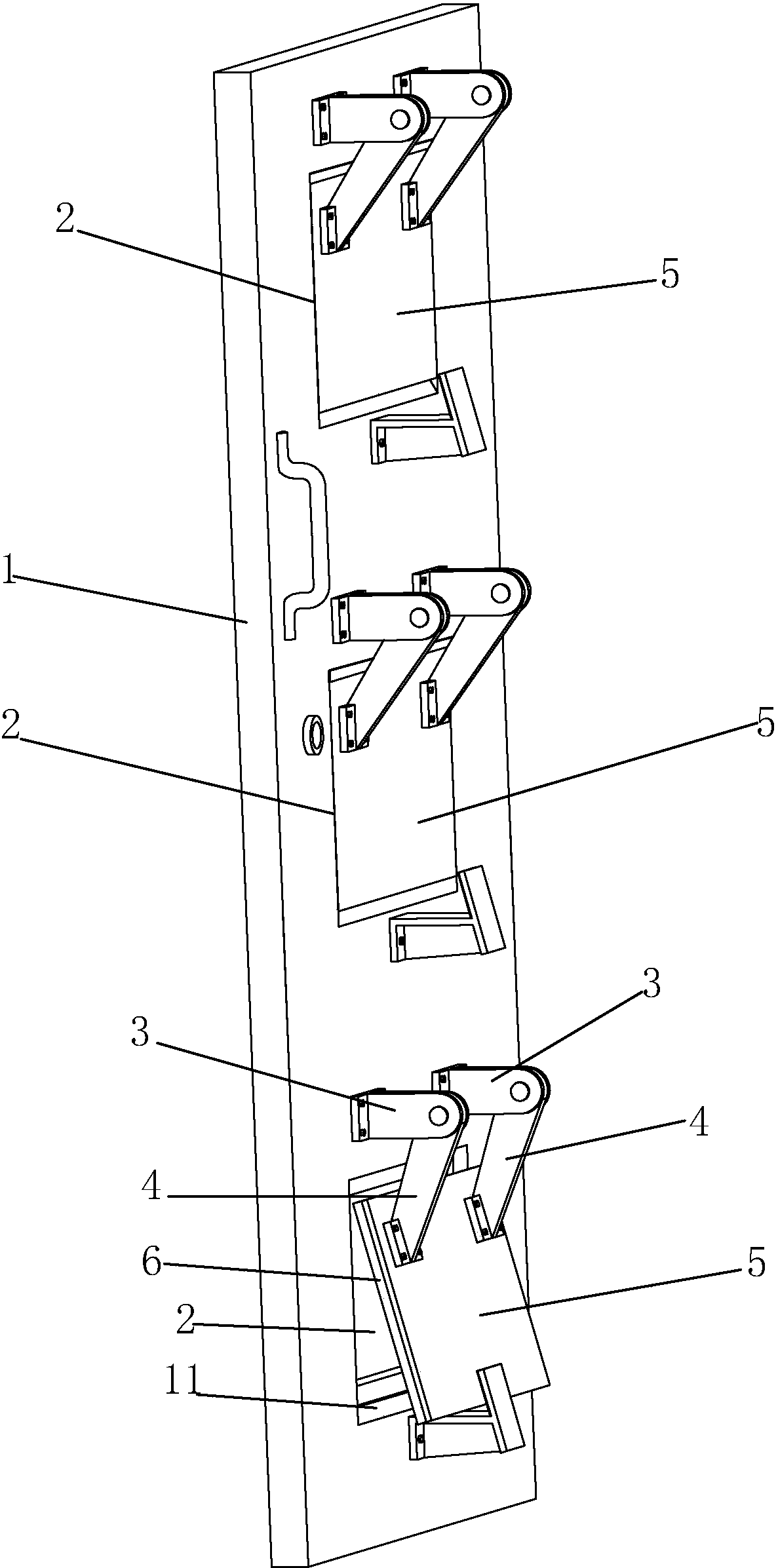
一种防爆波悬板活门的制作方法
图片尺寸645x1000
一种防爆波悬板活门的制作方法
图片尺寸728x1000
各种款式fh系列炸药库抗冲击波活门 矿用抗冲击波活门产品结构
图片尺寸750x750
一种具有抗冲击波功能的人防门的制作方法
图片尺寸388x828
fh系列炸药库抗冲击波活门价格 冲击波活门 炸药库抗冲击波活门
图片尺寸750x750
fh系列炸药库抗冲击波活门主要材质 现销售炸药库抗冲击波活门
图片尺寸750x750
三维彩色bim人防图集详解三维人防结构立体图集下载
图片尺寸660x461
悬摆式防爆波活门的制作方法
图片尺寸590x1000
陕西人防通风--人防门悬板式防爆波活门
图片尺寸311x455
一种防爆波悬板门的制作方法
图片尺寸895x1000
封板悬浮门 直线门 悬挂门 工业门
图片尺寸1920x1849