悬臂轴轴承布置

上海潮锋三维混合机可定制研发
图片尺寸449x250
为齿轮大端到箱体内壁距离,△=10-12mm,c=8-12mm,悬臂长l1为轴承
图片尺寸479x230
防尘轴承性能试验装置
图片尺寸486x376
悬臂长度较小,故悬臂端刚性较大,当轴受热伸长时,轴承游隙增大
图片尺寸640x402
它主要由悬臂式转子旋转阀,迷宫式密封隔离结构和分立的轴承组所组成
图片尺寸360x218
几种轴向固定的比较
图片尺寸1003x1152
高速悬臂泵轴承箱装置的制作方法
图片尺寸960x1000
例如悬臂布置的小锥齿轮轴,锥齿轮部分应尽量 靠近轴承以减小悬
图片尺寸1080x810
风机轴承风机专用轴承
图片尺寸278x272
请教轴上零件的结构设计合理性_轴承_齿轮_悬臂
图片尺寸1080x1127
悬臂泵的轴向力请教个很简单的问题,普通悬臂泵都说是连轴端定位,轴承
图片尺寸503x288
常见减速机轴承间隙调整方法,步骤详解及适用情况
图片尺寸572x389
初绘装配草图2. 轴,轴承,键,联轴器的校核
图片尺寸640x476
机床主轴轴承是高精密轴承的主要使用场景,一般来说,轴承是根据主轴
图片尺寸640x280
如何打造高可靠性离心泵?
图片尺寸640x381
轴承应用-佰联轴承网--中国专业轴承行业网站,始于1999年!
图片尺寸1089x452
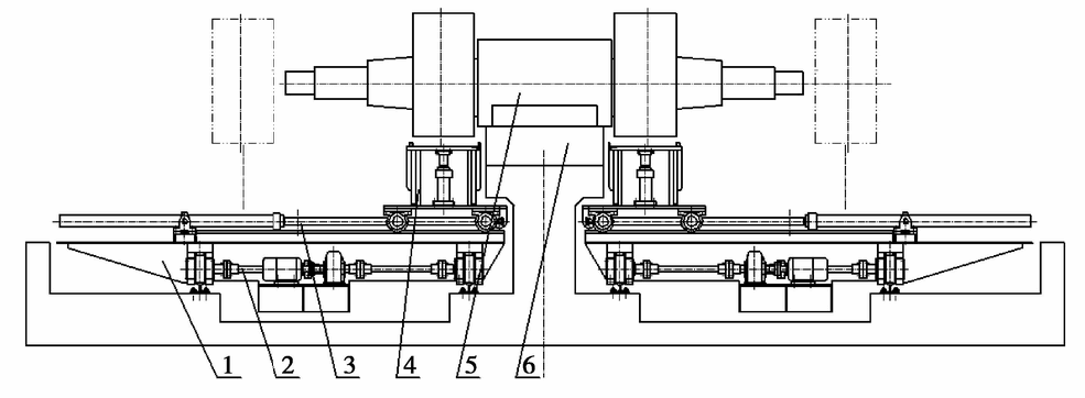
大型轧辊轴承座拆装系统的研制_ 轴承安装与拆卸 -佰联轴承网--中国
图片尺寸985x362
一个关节轴承和两个深沟轴承.
图片尺寸1920x1080
主轴-导轴承-密封装置
图片尺寸960x800
瑞思达轴承教你滚动轴承的配置
图片尺寸640x529