惠东县刘胜雄

【白花简讯】白花镇第十四届人民代表大会第七次会议胜利召开
图片尺寸6000x4000
惠东县白花镇党委书记刘胜雄向南方 记者介绍,该镇总共有26个村两个居
图片尺寸600x337
312植树节惠东县各级团组织开展保护母亲河植绿护绿活动
图片尺寸640x480
【白花简讯】市消安委到白花镇开展2020年火灾隐患重
图片尺寸750x550
刘胜雄:政工战线出来的好镇长朱校长动情回忆了当年在校读书时的场景
图片尺寸500x333
3.12 植树节 | 惠东县各级团组织开展保护母亲河,植绿护绿活动
图片尺寸640x480
迎新春送温暖惠东这座有温度的城市这么做
图片尺寸640x853
惠东法院召开清案工作会议
图片尺寸1080x720
树仔镇海丰小学2019春季颁奖典礼
图片尺寸2000x2667
刘胜雄
图片尺寸2483x3760
【组图】《黄埔军校抗日群英书画展》在广州开幕(组图)
图片尺寸588x392
县环保局局长刘胜雄的陪同下检查环保工作
图片尺寸430x286
政府区长,原任光明区人民政府区长刘胜已在去年12月升任光明区委书记
图片尺寸800x534
迟金玉孙集峰李莉吴奎珍刘胜孙天裕孙晶(女)邓德磊任厚彬刘贵雄王世杰
图片尺寸268x354
2006第一届景康校友杯高尔夫球赛
图片尺寸2272x1704
>> 查看拍卖商品
图片尺寸1400x1050
惠东县白花镇铁腕出击开展"两违"整治清拆大行动|白花镇|刘胜雄|违法
图片尺寸1280x877
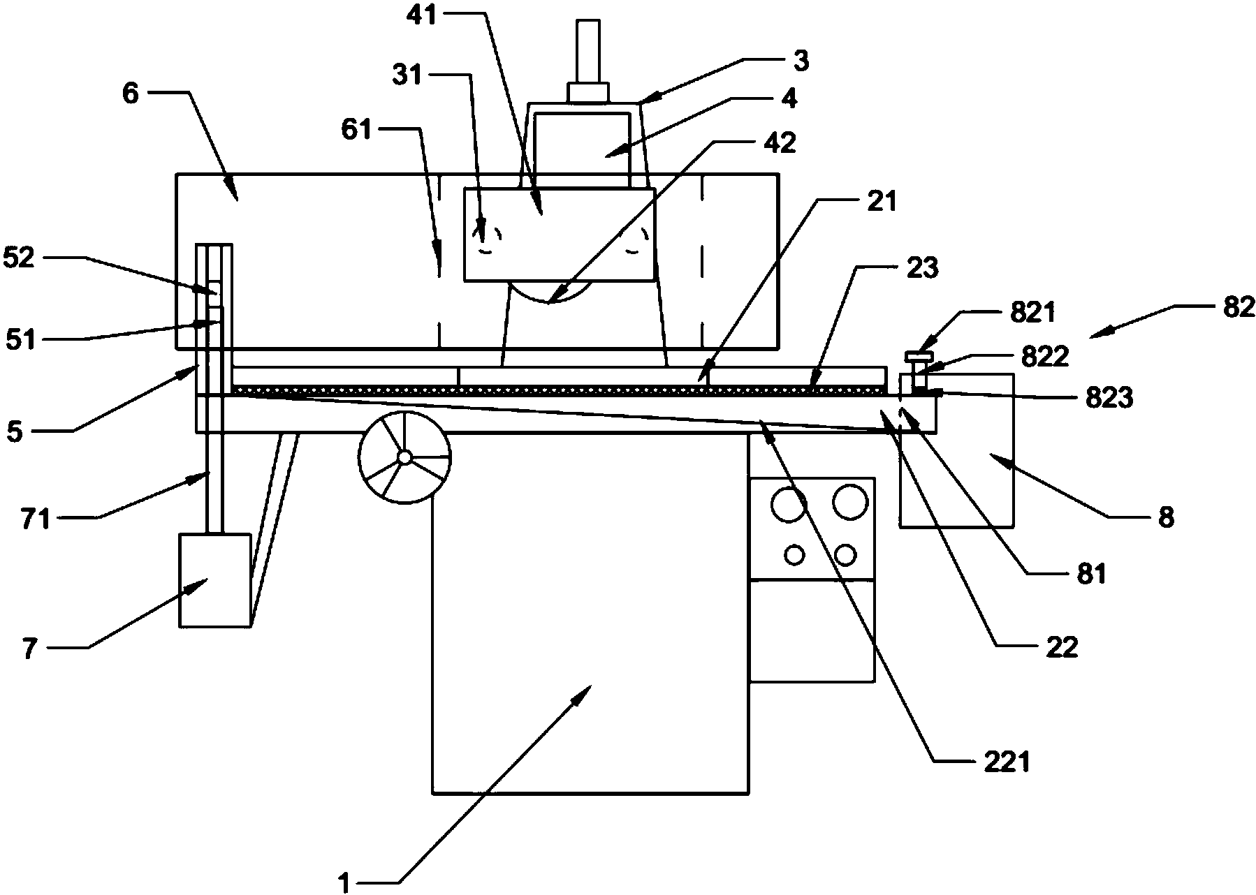
cn208163414u_高防护的平面磨床有效
图片尺寸1798x1282
惠东县白花镇铁腕出击开展"两违"整治清拆大行动|白花镇|刘胜雄|违法
图片尺寸1079x1528
省委统战部副部长王晓炜一行来学院调研
图片尺寸555x368