惠威m200mkiii电路图

产品方案i茂睿芯240w高性能pfcllc全套方案详解
图片尺寸1080x500
产品方案i茂睿芯240w高性能pfcllc全套方案详解
图片尺寸576x288
i说说谈一谈这个数字芯片式换向阀
图片尺寸731x706
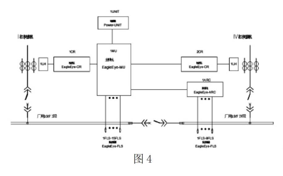
eye-fls),电源模块(power-unit)及连接各部件之间的光纤和数据线组成
图片尺寸916x571
电路板 2560_1441
图片尺寸2560x1441
电路板 2560_1441
图片尺寸2560x1441
把刚上市的五菱星光拆个精光,就为了干一件事
图片尺寸640x427
基于ch9329 无需单片机c快速开发一个usb hid虚拟键盘鼠标
图片尺寸408x295
基于自旋轨道力矩磁隧道结的概率分布可调真随机数发生器 | 进展
图片尺寸660x391
inteli219v千兆网卡
图片尺寸660x440
电路板 2560_1441
图片尺寸2560x1441
电路板 2560_1441
图片尺寸2560x1441
电路板 2560_1441
图片尺寸2560x1441
电路板 2560_1441
图片尺寸2560x1441
电路板 2560_1441
图片尺寸2560x1441
电路板 2560_1441
图片尺寸2560x1441
电路板 2560_1377
图片尺寸2560x1377
基于fpga的aes256光纤加密设计
图片尺寸360x282
首先取消了 i / o 端口护罩,相关接口直接裸露,另外 cp
图片尺寸1200x1000
首先取消了 i / o 端口护罩,相关接口直接裸露,另外 cp
图片尺寸1200x1000