戈的画法

戈
图片尺寸280x280
手绘历史古代的兵器
图片尺寸396x370
中国古兵器戈到底多可怕
图片尺寸613x709
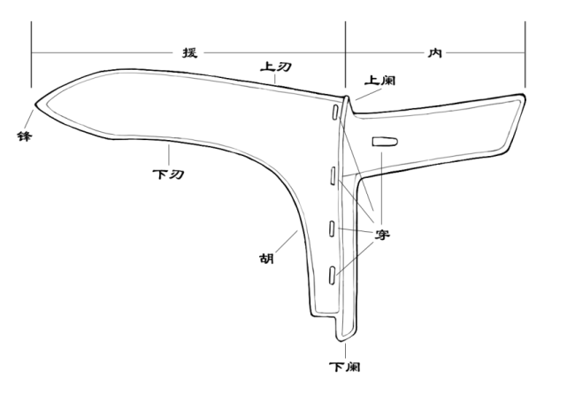
戈,中华文明所特有的啄击钩杀兵器
图片尺寸500x383
戈的拼音怎么读
图片尺寸600x600
长戈简笔画
图片尺寸500x649
戟 jǐ 一种戈顶端有矛形尖刺装置的兵器,少数是戈和刀的合体.
图片尺寸640x693
全长不过1米5的车战利器青铜戈为何能成为中国最特色的兵器
图片尺寸641x447
任政在兰斋宋词行书帖中写的戈
图片尺寸299x300
戈艺术字体戈头像戈笔顺戈同音同调字查询
图片尺寸300x300
戈的拼音怎么读
图片尺寸810x1120
戈与矛古代战场上威力极大的兵器种类
图片尺寸640x307
行书"戈"字
图片尺寸600x600
行书"戈"字
图片尺寸600x600
6,戟:戟是矛和戈或者是枪和刀的合体,它的杀伤力是很强的,既可以象矛
图片尺寸341x341
款式多样的戈类武器,一些出土文物表明这些并不是乱画的东西.
图片尺寸720x576
硬笔书法行书单字解析戈字的书写技巧分析
图片尺寸1024x710
山西临猗县程村两座东周墓_村民
图片尺寸320x190
戈的简笔画简笔画教程图片步骤儿童简笔画画法步骤详解附简笔画全套
图片尺寸392x696
戈的正确打开方式
图片尺寸600x509