截污井 原理图

防污水溢流式截流井及其控制方法
图片尺寸1913x1327
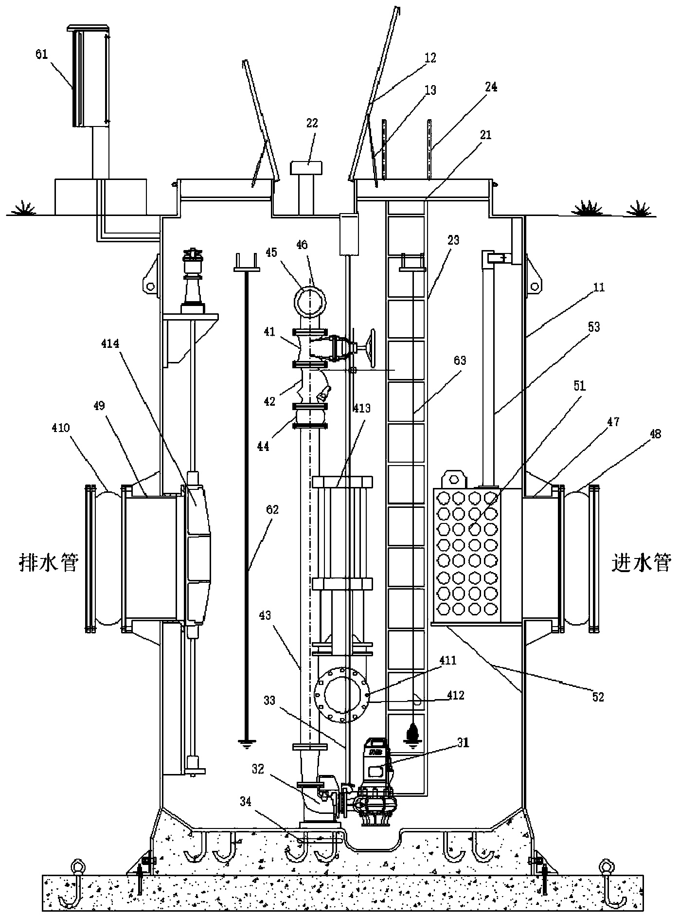
居民小区的污水截流井及其使用方法与流程
图片尺寸926x1000
一种雨污分流的截流井
图片尺寸1626x1935
一种河道排污口截污导流的原位净化处理方法和系统与流程
图片尺寸1000x418
单控型(针对污水口低于雨水口的老式截流井)双控型的弃流井,在雨天时
图片尺寸553x237
德国的截流井及相关设计
图片尺寸968x630
截污井连着拍门井是啥意思
图片尺寸1402x918
截流井
图片尺寸364x230
截污井及应用-爱企查
图片尺寸1396x1887
翻板式污水截流井
图片尺寸856x784
一种雨水截流井的制作方法
图片尺寸1000x585
晴天状态:工作原理产品简介在线咨询我要定制hrtyjw型智能截流井设备
图片尺寸383x493
cn207959463u_截留倍数可调的塑料混凝土混合结构智能截污井有效
图片尺寸1099x909
cn209308151u_一种可缓解城市地下排水系统压力的截污井结构有效
图片尺寸817x1000
截流倍数可调防止过量雨水进入污水管智能截污井
图片尺寸888x849
cn201016185y_下开启溢流式截污井失效
图片尺寸1848x2285
截污井及限流井工艺图
图片尺寸610x432
污水检查井示意图doc
图片尺寸860x1216
污水井井筒与井室高度如何得出
图片尺寸1156x736![[分享]截污井图纸资料免费下载](https://i.ecywang.com/upload/1/img0.baidu.com/it/u=411308864,496493569&fm=253&fmt=auto&app=138&f=JPEG?w=560&h=323)
[分享]截污井图纸资料免费下载
图片尺寸560x323