截瘫平面

脊髓损伤截瘫还能治好吗该怎么治
图片尺寸856x615
截瘫的恢复期康复治疗 - 好大夫在线
图片尺寸949x2304
截瘫就医指南
图片尺寸283x368
cn101623547b_截瘫患者用下肢康复医疗机器人有效
图片尺寸1516x1732
cn1182581a_截瘫病人行走器失效
图片尺寸788x957
cn103989570a_一种外动力驱动的交互式截瘫助行外骨骼有效
图片尺寸1000x936
图7-8 截瘫患者轮椅-床间体位转移三,抬起技术(一)标准式或椅式抬起法
图片尺寸1458x886
横贯性损害:脊髓损伤常累及双侧锥体束,出现受损平面以下两侧肢体痉挛
图片尺寸552x428
1人 赞同了该文章 截瘫是瘫痪的一种,顾名思义就是因为脊髓受损平面
图片尺寸640x421
脊髓损伤平面的临ppt
图片尺寸1080x810
一种适用于截瘫患者的轮椅制造技术
图片尺寸1000x855
一种安全可调节的防止截瘫患者足下垂装置
图片尺寸1000x896
连续开车8小时,被诊断截瘫!生活里的这几个细节要注意!
图片尺寸303x303
cn101385682b_截瘫患者下肢功能康复器失效
图片尺寸1596x1234
广州专治截瘫医院哪家比较好-广州专治截瘫医院哪个专业-名医汇
图片尺寸497x518
老年人,老年残疾人,截瘫祖父为网页图形设计和动画制作孤立的卡通插图
图片尺寸320x389
一种下肢截瘫患者自我康复训练辅助装置的制作方法
图片尺寸386x443
一种截瘫患者用腿部功能训练支具-爱企查
图片尺寸456x636
脊髓损伤的预后和医疗康复措施方案与截瘫的平面和性质有密切关系.
图片尺寸569x712
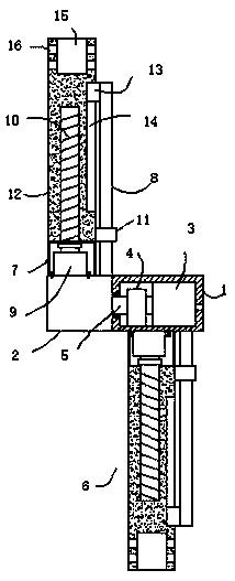
一种用于截瘫行走装置的关节机构-爱企查
图片尺寸214x527