扁平热管

扁平铜水热管
图片尺寸566x300
超扁平热管散热器
图片尺寸820x547
英国oroflex扁平管
图片尺寸390x395
散热器管
图片尺寸1280x960
热管diy直径8 /笔记本散热铜管模组散热管改造定制纯铜扁平热
图片尺寸300x225
平行流微通道内齿散热油冷器铝扁管
图片尺寸600x452
图2无机高效扁平多孔热管的实物图
图片尺寸500x280
电煮面机汇利煮面炉麻辣烫炉m型w型电热管加热棒水
图片尺寸800x800
油炸锅扁形电加热管
图片尺寸700x525
【外观专利】旋转式扁形加热管(5u)不可交易
图片尺寸1240x910
【订制 非标 扁形 异形 电加热管 功率 电热管 厂
图片尺寸1024x768
热管(来图订作)压扁
图片尺寸800x450
热管(来图订作)压扁
图片尺寸1024x528
超导平板导热液热管 扁平导热板 均热板 均温板 宽26mm厚2mm_双氙车灯
图片尺寸284x284
cpu显卡南桥铜板diy导热管扁平热管紫铜材质来图异性铜板加工
图片尺寸550x412
超薄扁平热管 vc_手机搜狐网
图片尺寸467x339
热管diyΦ6*180 散热铜管模组散热管改造定制纯铜扁平热
图片尺寸280x280
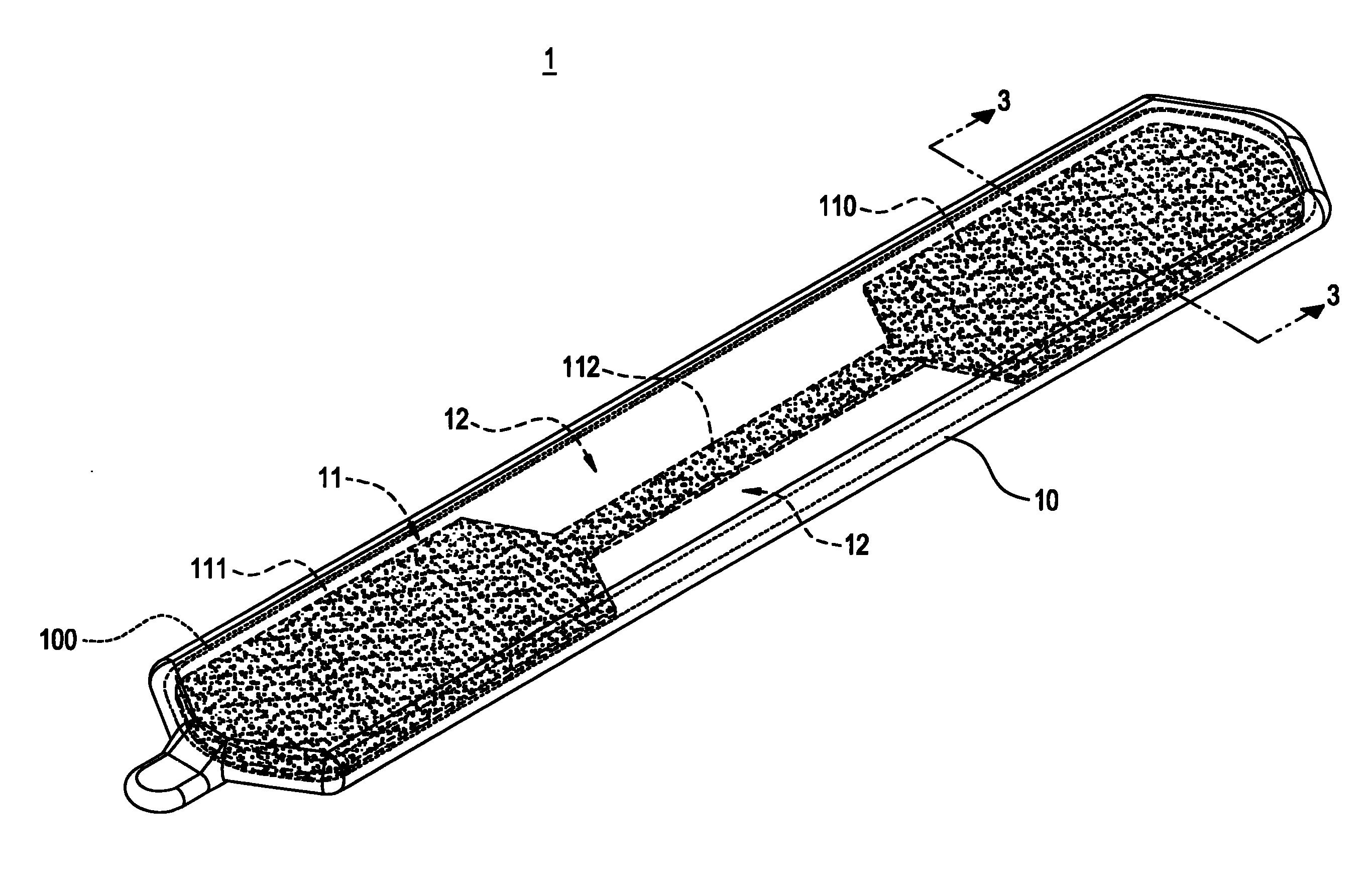
扁平状热管结构-爱企查
图片尺寸2732x1756
超频降温当红小生——热管技术你懂么?
图片尺寸340x373
【led热管】led热管是什么,有何意义?led调光实践与反馈
图片尺寸600x480