扁担梁吊具计算

供应起吊扁担梁厂家_横梁吊具-泰兴市永兴索具有限公司
图片尺寸915x1280
55吨横梁吊具
图片尺寸681x448
50吨横梁吊具
图片尺寸673x507
定制适用平衡吊梁起重平衡梁组合吊梁工字梁扁担梁起重吊具hlb吊 100t
图片尺寸800x800
55吨横梁吊具_cad图纸/二维图纸下载
图片尺寸1315x655
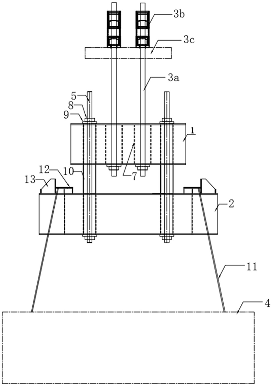
一种采用预应力钢绞线吊装大吨位构件的双层扁担梁吊具-爱企查
图片尺寸1153x1637
现有的用于吊运钢管的绳套式吊具,包括吊环,扁担梁,吊绳,中挂环,连接
图片尺寸356x443
1. 实用新型焊接球网架拼装吊具授权我要购买申请号:cn201921974368.
图片尺寸400x583
神州sw021扁担吊梁批发厂家 管式平衡梁 h型平衡吊梁 横梁吊具
图片尺寸750x750
专业设计平衡吊梁钢板墙板玻璃pc吊梁工字梁框型梁扁担梁行车吊具
图片尺寸791x750
线材多卷吊具,多挂点吊梁,供应起吊扁担梁厂家,多吊点盘条吊具,线材
图片尺寸800x725
公开了一种钢筋笼吊具,包括吊板,与吊板的底部固定连接的扁担梁机构
图片尺寸2346x1284
一种采用预应力钢绞线吊装大吨位构件的双层扁担梁吊具的制造方法与
图片尺寸1000x752
神州吊具sw245设计定制铁扁担梁 可调节平衡吊梁 保质一年
图片尺寸975x936
异形构件,墙板,叠合板,叠合梁等构件需要使用起吊扁担;钢扁担应按照
图片尺寸635x466
平衡梁吊具扁担梁
图片尺寸800x450
兴胜平衡吊梁扁担梁吊具可调节平衡梁吊具吊点可调式横吊梁起重吊梁
图片尺寸580x540
定制吊梁平衡梁工字h型梁起吊起重设备一字梁扁担梁横梁吊具
图片尺寸750x1199
08-扁担梁平衡吊梁起重吊具
图片尺寸1280x960
神州吊具起重吊梁平衡吊梁铁扁担梁平衡吊具
图片尺寸600x800