手动刹车装置

残疾人c5汽车改装手动驾驶辅助装置安装油门刹车配件手驾
图片尺寸1280x720
带手动释放制动器,新乡手动释放制动器
图片尺寸671x637
华伍制动器ywg40050液压鼓式制动器手动装置调试方法
图片尺寸350x350
车辆运动或者运动趋势的制动力的部件,包括辅助制动系统中的缓速装置
图片尺寸593x522
装置汽车手自通用型副驾驶刹车教练陪练副制动器 手动挡自动档通用
图片尺寸800x800
汽车手刹系统有三种类型:手拉·脚踩·电子式哪种最可靠?
图片尺寸640x347
装置家用免打孔副驾驶刹车手自通用型教练陪练副制动器 手动挡/快拆
图片尺寸800x800
家用免打孔副刹车装置汽车手自通用型副驾驶刹车教练陪练副制动器手动
图片尺寸750x750
焦作制动器 ywz12-400/e80可配手动装置 下降阀液压鼓式制动器
图片尺寸1024x768
汽车前后盘式机构手刹制动系统
图片尺寸820x592
装置教练车陪练通用把手式家用副刹免打孔刹车 手动档专用(行程偏小)
图片尺寸800x800
器家用免打孔副驾驶刹车装置 手动挡不锈钢支架/快拆 防误踩【图片
图片尺寸800x501
装置免打孔家用陪练教练车通用型付刹副驾驶刹车辅助改 手动档(不含
图片尺寸800x800
款手控汽车副驾驶刹车辅助通用免打孔副刹车装置私家 手动档汽车 专用
图片尺寸800x800
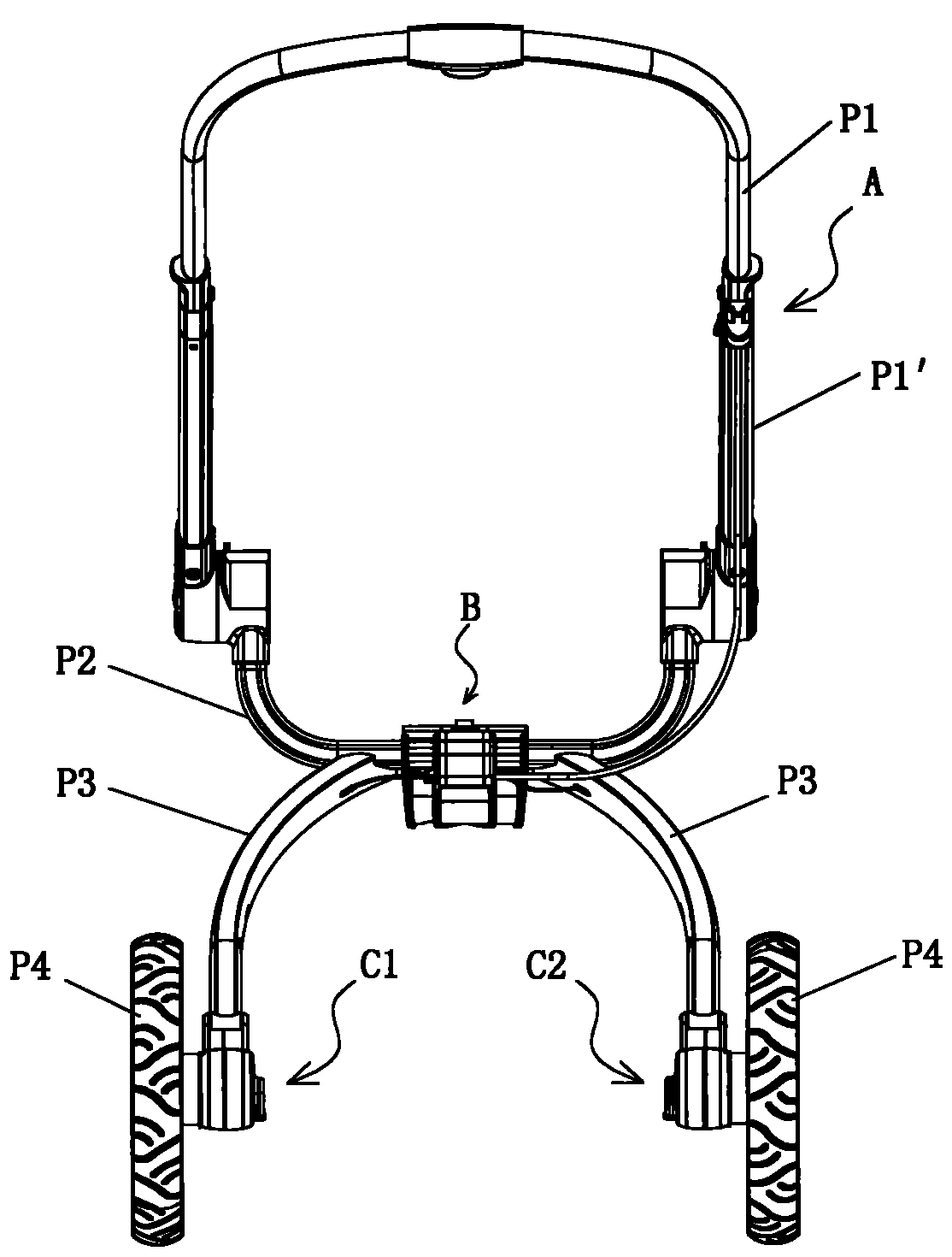
手动式童车后轮刹车装置
图片尺寸1114x1470
怀武供应yw800e301电力液压制动器加手动装置起重机ywz5系列刹车抱闸
图片尺寸800x600
迪朗手驾残疾人c5辅助装置下肢全手操控刹车油门无损安装轮椅牛牛
图片尺寸300x300
副驾驶刹车手动式汽车装置陪练家用教练车免打孔辅助通用型副刹车
图片尺寸2268x2268
副刹车装置汽车手自通用型副驾驶刹车教练陪练副制动器 手动挡 防误踩
图片尺寸800x800
一种手动刹车操纵装置
图片尺寸1569x1463