手动装o型圈工具

如何正确安装o型圈
图片尺寸1080x1920
o型圈机械手是一种专为装配o型圈而设计的精密工具.
图片尺寸660x880
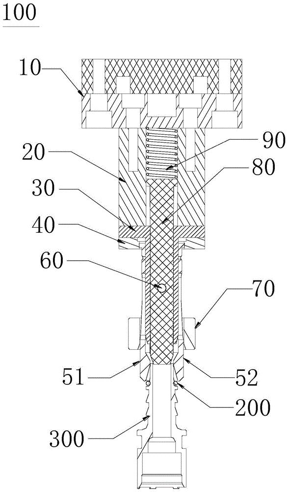
用于外o型圈的装配工具及其装配方法
图片尺寸587x1000
o型圈安装工具
图片尺寸300x300
dyqt司达行安装拆卸密封件钩o型圈专用摘除工具or钩/or采摘钩 拉杆封
图片尺寸750x1000
意式咖啡机胶圈密封圈拆卸工具冲泡头胶圈专用工具o型圈工具
图片尺寸750x562
油封工具拉杆封扭合器u型圈安装工具液压缸密封圈油封安装工具sml s号
图片尺寸990x990
陇聚福油封起子o形圈垫片橡胶密封圈拆卸钩子油封拆装工具套装加长 4
图片尺寸800x800
o型圈安装别想那么难,借助这个安装工具,新手也能轻松掌握-度小视
图片尺寸2160x2857
9件油封起子 油封拉拔器 拆装油封钩子 o型圈拆卸工具 o型圈钩子
图片尺寸750x750
丁晴橡胶o型圈修理盒套装|o型圈修理包套装大礼包
图片尺寸852x1136
o型圈修理盒密封圈 密封件 o型橡胶圈丁腈胶0型圈修理盒 耐 - 抖音
图片尺寸1920x1896
两种常见的o型圈安装方式(径向安装)
图片尺寸1080x1920
汽车o型圈/油封/垫片拆卸工具套装/橡胶圈o型圈密封圈油封起子
图片尺寸750x500
这个透明盒装o型圈密封圈盒装胶圈真的太好用啦!
图片尺寸800x800
我用它轻松拆卸了汽车上的o型圈和密封圈 - 抖音
图片尺寸750x750
活塞密封安装o型圈教程
图片尺寸3840x2160
jing ping4件9件套油封起子油封拆装工具拉拔器异形o型圈垫片钩子汽修
图片尺寸800x800
挖掘机配件透明盒装o型圈密封圈盒装胶圈适用于卡特小松日立神钢
图片尺寸3024x3024
o型圈密封圈安装工具设备硅胶圈安装工具套圈设备定制气动工装夹
图片尺寸1920x1920