手压泵泵体零件图

机械装配图纸:"偏心柱塞泵"
图片尺寸1791x1280
超手动液压泵
图片尺寸600x964
新标准机械图图集零件建模——泵体
图片尺寸1728x1080
yb-e系列高性能叶片泵-浙江永灵液压机械有限公司,液压件,泵
图片尺寸2480x3386
图纸来了:手摇齿轮泵(共11张图纸)
图片尺寸905x1280
图8-54 泵体零件图
图片尺寸1304x1833
32机油泵体
图片尺寸1635x1140
斗山55液压泵分解图
图片尺寸681x451
泵体零件图pdf
图片尺寸800x1132
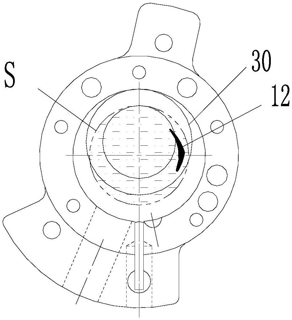
泵体结构及具有其的压缩机
图片尺寸838x1056
yuken油研pv2r1液压叶片泵pv2r1-17-f-raa pv2r1-6-f-raa-43 pv2r1
图片尺寸798x1241
手压阀装配图
图片尺寸1727x2048
solidworks手压泵(零件建模,装配,仿真动画,爆炸动画,工程图)解说!
图片尺寸768x480
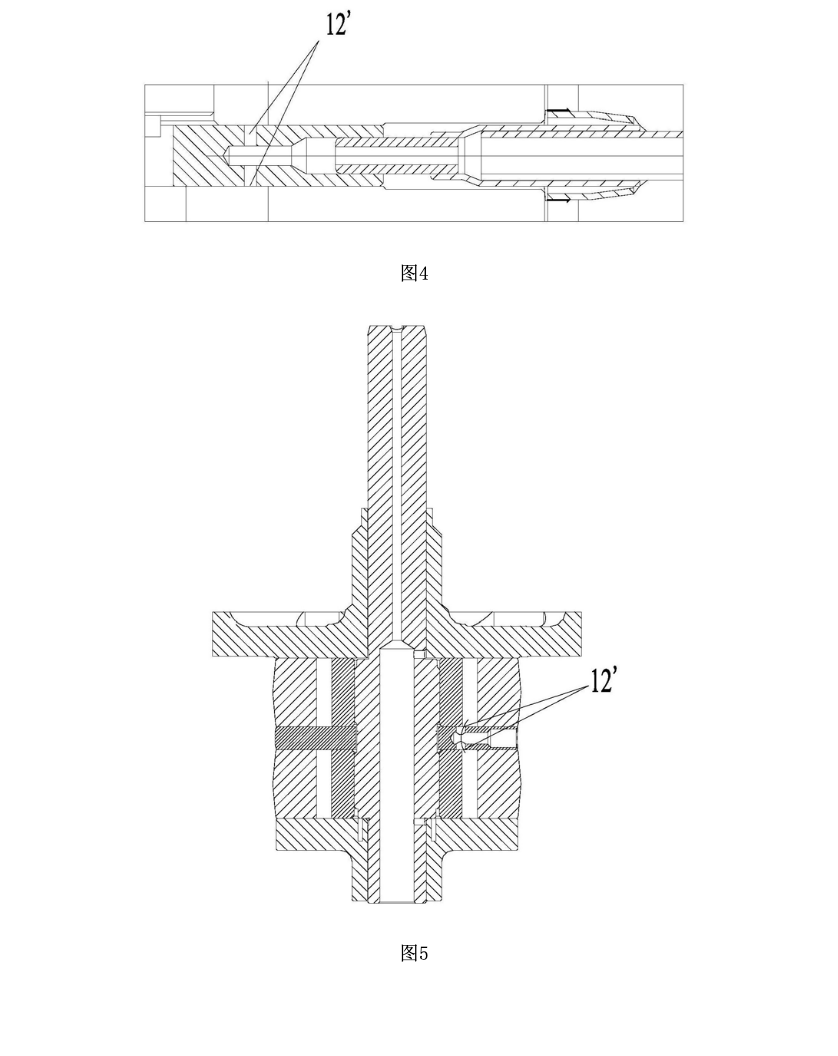
泵体结构及具有其的压缩机
图片尺寸1006x1103
yb-e系列高性能叶片泵-浙江永灵液压机械有限公司,液压件,泵
图片尺寸2480x3430
泵体零件数控加工工艺设计编程及夹具设计377rar
图片尺寸2338x1653
超高压手液压泵手动打压泵高压手动试压泵德国进口液压泵
图片尺寸344x481
yb1-100仙居永灵叶片泵yb1-2.
图片尺寸750x1157
齿轮泵体齿轮泵装配图钢渣处理圆筒筛过滤器图纸空压机3080总装图图纸
图片尺寸1076x769
柴油机柱塞式喷油泵及偶件型号怎么查看
图片尺寸600x375