手推车结构

一种可收放的手推车的制作方法
图片尺寸1000x776
带座椅手推车的车架构造及带座椅手推车制造技术
图片尺寸977x1000
一种折叠手推车的制作方法
图片尺寸867x1000
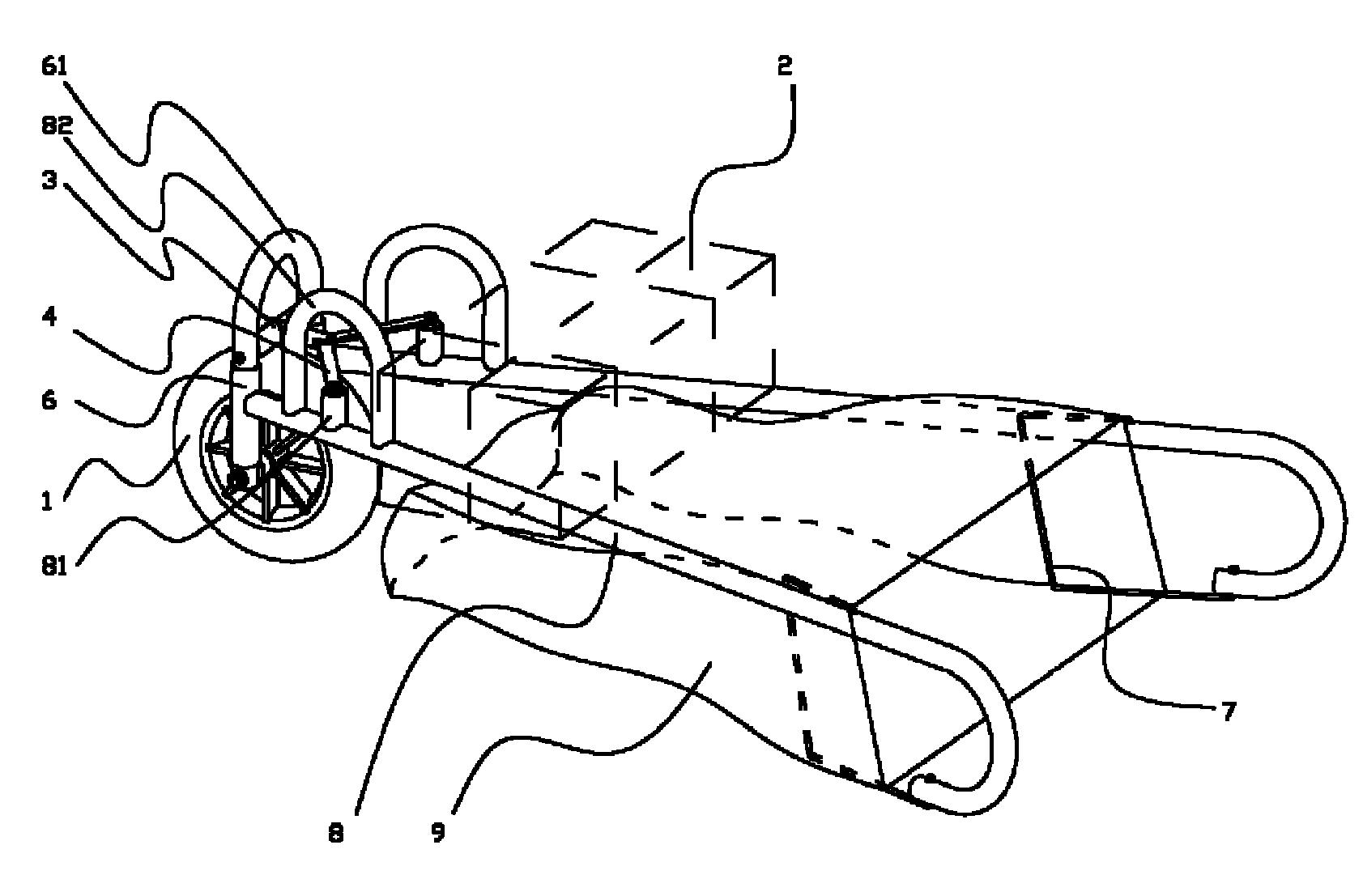
一种翻斗式独轮手推车
图片尺寸1812x1118
儿童推车的制作方法
图片尺寸767x1000
一种婴儿推车的制作方法
图片尺寸951x1000
专利文件(cn107472322a)公开了一种手推车的折叠结构,该折叠结构折叠
图片尺寸902x1000
手推车的制作方法
图片尺寸962x975
手推车搬运拖车双轮折叠拉货车手拉小推车 70*50cm三角结构高承重超
图片尺寸800x800
手推车-爱企查
图片尺寸531x800
本实用新型提供了一种结构简单,操作简便及易于存放的可收合的手推车
图片尺寸1683x1107
背景技术:现有手推车的车架多为可折叠结构,从结构上看既有多关节的
图片尺寸991x1000
防晃动电动平板推车的制作方法
图片尺寸1000x918
一种儿童推车的制作方法
图片尺寸889x1000
一种婴儿推车结构的制作方法
图片尺寸1000x926
一种具有滚轮缓冲弹性结构的不锈钢手推车的制作方法
图片尺寸360x443
为多种状态的手推车,包括由平面框架结构组成的第一支架和第二支架,所
图片尺寸852x1000
一种儿童推车的制作方法
图片尺寸1000x988
cn212074076u_具有新型拉手结构的可折叠手推车有效
图片尺寸1000x647
童车,婴儿车批发好孩子婴儿推车轻便折叠手推车一件代发儿童推车
图片尺寸750x584